КВ приемник мирового уровня –это очень просто
ГЛАВА 28. “Большой приемник”—
окончательный вариант
“Аматор”: Дорогой Спец, вот, пожалуйста, полюбуйтесь на
нашего Незнайкина!...
“Спец”: Да, я вижу, он полон смущения, и я даже сказал бы,
какого-то непонятного раскаяния... Что с тобой, дорогой юный друг, уж не
заболел ли ты?
“Незнайкин”: Все много хуже... Я провел бессонную ночь, с
карандашом в руках ползая по схеме частотомера и... мне вдруг показалось, что я
все позабыл. Это ужасно, но я хотел бы просить Вас, о высокочтимый и уважаемый
Учитель, снова вернуться к теме частотомера, но уже более подробно.
“Спец”: Вот к чему приводит чрезмерное увеличение просмотром
японских и китайских кинолент, особенно на средневековую тему! Но может у тебя
есть еще просьбы? Говори уже все разом.
“А”: Действительно, семь бед — один ответ.
“Н”: Разве что еще одна. Я хотел бы привести в окончательный
вид все принципиальные схемы нашего БОЛЬШОГО ПРИЕМНИКА. Ведь это лучше сделать
сейчас, чем запутаться в них потом, на стадии “железа”.
“С”: Знаешь, Аматор, а ведь в просьбе Незнайкина есть
рациональное зерно. И потом, мы ничего не говорили по поводу режимов, отладки,
настройки... Так что давайте подводить БОЛ ЬШУЮ ЧЕРТУ. То есть придадим всему
циклу наших бесед по постройке приемника, конкретно-законченный вид.
“Н”: Вот за это — огромное спасибо! И еще одно... Один мой
приятель (я рассказал ему о том, что собираюсь строить “большой приемник”),
который тоже испытывает желание, как он выразился, “склепать” что-нибудь
эдакое, заспорил со мной, почему именно приемник, а не что-нибудь другое. Он
никак не может выбрать, с чего начать...
“С”: Я тебя понял. По этому поводу могу заметить следующее.
Лет 20—25 назад в моде был лозунг: “Электроника — это наше будущее!”. Шли годы,
и то, что считалось технической мечтой, утопией, разбушевавшейся не в меру
фантазией — все это действительно стало реальностью. Это и начиненные до
предела самой совершенной электроникой межпланетные автоматические станции. И
искусственные спутники Земли, через которые осуществляется ретрансляция
телевизионных передач из любой страны мира. Это замечательные персональные
компьютеры, количество которых в мире на сегодняшний день исчисляется многими
десятками миллионов. Стоит ли упоминать о новейших поколениях превосходных
цветных телевизоров, которые уже сейчас сочетают в себе преимущества как
собственно телевидения, так и компьютеров, объединяя воедино их, поистине,
сказочные возможности. Видеомагнитофоны высочайшего класса, аудиотехника, музыкальные
центры, сотовая связь, пейджеры, плейера .. Перечислять можно долго Но вот что
парадоксально. Отношение у различных людей ко всей этой великолепной, самой
разнообразной, изготовленной с учетом всех нюансов современнейшего дизайна
технике — далеко неоднозначное. И дело совсем не в том, кому по душе, допустим,
тот или иной вариант исполнения, те или иные потребительские достоинства всех
этих электронных чудес.
Проблема, хотя ее осознают далеко не все, заключается в том,
что существует достаточно многочисленная группа технически мыслящих, творческих
людей, которые, полной мерой воздавая должное уважение тем, кто создал и
создает сегодня все это великолепие, в то же время испытывают потребность
ПОНЯТЬ, как функционирует то или иное изделие. Приобщиться не только к
наружному оформлению и оптимальному использованию превосходного “забугорного”
изделия, но и ВНИКНУТЬ в его внутреннюю суть.
Вот именно такие люди и являются тем резервом технической
мысли, которая, по большому счету, и обеспечивает в значительной мере мировой
прогресс в области электроники! Часть из них — это профессиональные
разработчики в области электронной техники. Ученые и инженеры. Но существует
также многочисленная армия энтузиастов, которым, по той или иной причине, не
пришлось попасть в ряды разработчиков-профессионалов. Но технический потенциал
таких людей достаточно высок. А что касается идей, то их, как говорится — не
занимать!
Как быть им? И как быть тем представителям молодежи, у которых
создание электронных изделий — любимое хобби? А ведь такие представители
младшего поколения — это возможная будущая техническая элита СНГ. Вот почему
помочь таким людям получить практический опыт в области изготовления и
разработки достаточно сложных и интересных электронных изделий, приобщить их к
замечательному миру современных схемотехнических решений — это задача не только
достойная, но и необходимая. Радиолюбитель-конструктор — вот на кого рассчитано
нижеизложенное.
Но с чего начать будущему электронному инженеру? Какое
направление выбрать? Может компьютеры? Будем откровенны, повторить в
любительских условиях уровень компьютерной схемотехники (нет, не той, которая
достигнута в этой области сегодня — это невозможно!) даже десятилетней
давности— задача сомнительная. Правда, можно “лепить” достаточно современные
системы из плат, сделанных на заводах Гонконга, Малайи: Европы... Но это
оправдано тогда, когда подобным образом дополняется какое-то самостоятельное,
оригинальное изделие. Но просто состыковывать между собой чьи-то стандартные
платы — где же тут особое творчество?
Или взять, да и построить цветной телевизор, для начала? Но
современный цветной телевизор — это далеко не то изделие, с которого стоит
начинать — хлопотно это и очень дорого. Да и микросхемы большого уровня
интеграции, поверьте, мало чем могут помочь для развития у
радиолюбителя-конструктора важнейшего умения — “схватывать” и “прочитывать”
схемы. Таким образом, выбор оптимального объекта приложения творческих сил в
современном радиолюбительском конструировании — задача непростая. В данном
случае лозунг “цель оправдывает средства” — не только справедлив, но и является
определяющим. Так какая же область современной электроники является именно тем
“золотым сечением”, которое гармонично сочетает в себе доступную для
творческого осмысления схемотехнику и компонентную базу, приобретение которой
не поставит конструктора на грань финансовой пропасти. Наконец, обеспечит
радиолюбителю приобретение того бесценного опыта, который позволит в дальнейшем
с уверенностью углубиться и в другие направления .электроники? Такая область
имеется — это конструирование высокочувствительных, высокоизбирательных и
помехоустойчивых коротковолновых и всеволновых радиоприемников, основанных на
современной идеологии создания подобной аппаратуры.
Итак, цель поставлена — самостоятельно изготовить и отладить
коротковолновый высококачественный радиоприемник, позволяющий вести уверенное
прослушивание удаленных радиостанций в диапазоне частот от 5 до 30 мегагерц.
При этом контроль частоты принимаемых станций производить по цифровой шкале.
“А”: Ну, Незнайкин, теперь ты обеспечен аргументацией для
дискуссий со своим приятелем?
“Н”: Без сомнения!
“Спец”: Вот и прекрасно. А теперь я хочу предложить вам
обоим, чтобы больше уже не возвращаться к этим, вопросам, следующий порядок
“чистового” рассмотрения вопроса. По мере необходимости, мы будем
детализировать и схемотехнические, и конструкционные, и общие моменты. Итак,
прежде всего рассмотрим окончательную структурную схему.
Предлагаемый высокочувствительный, помехоустойчивый
коротковолновый радиоприемник, представляет из себя СУПЕРГЕТЕРОДИН С ДВОЙНЫМ
ПРЕОБРАЗОВАНИЕМ ЧАСТОТЫ Причем первое преобразование осуществляется “вверх”,
что дает возможность радикально решить вопрос о таком важнейшем параметре, как
избирательность по “зеркальному” каналу В то время, как у обычных
супергетеродинных приемников, выполненных по принципу однократного
преобразования частоты “вниз” (ПЧ — 465 кГц), избирательность по “зеркальному”
каналу в диапазоне KB не превышает 30 дБ, в приемниках с преобразованием
“вверх” этот параметр составляет величину порядка 80 дБ и выше Кроме того,
избирательность по “соседнему” каналу (т е. относительно станции, частота
которой отличается на 10 кГц от той, прием которой осуществляется), которую в
обычных супергетеродинных приемниках не удается сделать лучше 42 дБ, при
использовании принципа преобразования “вверх”, легко достигает уровня 70 дБ и
выше. Что соответствует величинам, характеризующих профессиональную аппаратуру,
То же самое относится и к динамическому диапазону входных сигналов В приемниках
с двойным преобразованием частоты (первое — “вверх”) применяется, как правило
ДВУХПЕТЛЕВОЕ АРУ (автоматическая регулировка усиления), что обеспечивает
несравненно более качественный прием в условиях сильного замирания сигнала при
значительном уровне индустриальных помех. Итак, на рис, 28.1. приведена
структурная схема высококачественного радиоприемника с двойным преобразованием
частоты.

Первое преобразование осуществляется “вверх”. Это означает,
что значение первой промежуточной частоты (ПЧ1) выбрано много выше, чем самое
высокое значение частоты из спектра принимаемых приемником сигналов. В данном
случае весь спектр принимаемых сигналов соответствует МЕЖДУНАРОДНОМУ диапазону
коротких волн (KB) и составляет: минимальная частота приемника — 5 мегагерц,
максимальная частота приемника — 30 мегагерц.
Этот интервал частот, в свою очередь, разбит на восемь
растянутых поддиапазонов. Первая промежуточная частота (ПЧ1) выбрана
стандартной и составляет величину - 55,5 МГц. Проанализируем, как
осуществляется функционирование радиоприемника, выполненного на основании
приведенной выше структурной схемы. Прошу, маэстро Аматор...
“А”: Сигнал частоты, на которой осуществляется прием и
которая может быть любой в интервале от 5 до 30 МГц, от антенны А поступает на
вход селектора каналов приема. Этот селектор каналов представляет собой систему
из восьми не перестраиваемых полосовых фильтров, обеспечивающих определенные
полосы пропускания, соответствующих приведенным выше поддиапазонам (рис. 28.2).

С выхода Б сигнал поступает на вход ВЧ-аттенюатора R,
реализованного на р—i—n-диоде. Который, в том случае, если амплитудное значение
высокочастотного сигнала невелико, находится в состоянии максимальной
высокочастотной проводимости. Следовательно, проходящий через него
высокочастотный сигнал, практически, не ослабевает. Далее, с выхода R сигнал
подается на вход высоколинейного малошумящего широкополосного усилителя А1,
нагрузкой которого является преобразователь частоты (смеситель) VI.
На второй вход преобразователя VI подается высокочастотный
синусоидальный сигнал с выхода генератора плавного диапазона (ГПД) G1.
Диапазоны перестройки ГПД находятся, что естественно, в следующей связи со
спектром принимаемых радиоприемником частот. Тогда напомним еще раз частоты
диапазонов (табл. 28.1).

Таким образом, на выходе VI образуется целый спектр
различных частот, являющихся продуктом физического процесса частотного
преобразования частоты сигнала и частоты гетеродина. Но только ОДНА из этого
спектра, а именно, соответствующая ПЕРВОЙ промежуточной частоте fПР 1
соответствует полосе прозрачности высокоизбирательного кварцевого фильтра Z2. С
выхода Z2, выделенная и отфильтрованная частота, равная первой промежуточной,
т.е. 55,5 МГц, поступает на вход усилителя первой промежуточной частоты А2,
нагрузкой которого является второй преобразователь частоты V2. Второй
преобразователь частоты необходим для осуществления процесса переноса полезного
сигнала с частоты 55,5 МГц на значительно более низкую вторую промежуточную
частоту fПР2, на которой и будут осуществляться такие манипуляции с
сигналом, как основное усиление его величины и детектирование.
В описываемом приемнике в качестве ПЧ2 (второй промежуточной
частоты) выбрана частота, равная 1,455 МГц. Легко видеть, что в этом случае, второй
гетеродин G2 НЕ ДОЛЖЕН быть перестраиваемым. Но вот требования к стабильности
его частоты достаточно велики. Частота колебаний G2 выбрана равной 54,045 МГц.
Поскольку это стандартизованная частота для современного ряда кварцевых
резонаторов. Далее сигнал с частотой, равной второй промежуточной, т.е. 1,455
МГц подается на вход резонансного усилителя ПЧ2, обозначенного на структурной
схеме — A3, перед которым находится селективный фильтр Z3. С выхода A3 сигнал
поступает на вход детектора V3, осуществляющего выделение сигнала низкой
(звуковой) частоты, поступающей затем на вход УНЧ (усилителя низкой частоты)
или, как иногда принято его именовать — УМЗЧ (усилителя мощности звуковой
частоты). Нагрузкой которого и является динамик BF.
Как и показано на структурной схеме (см. рис. 28.1.),
радиоприемник снабжен ДВУХПЕТЛЕВОЙ системой АРУ — автоматической регулировки
усиления. Поясним необходимость применения подобной системы. Начнем с цепи
АРУ-2. Подобная цепь присутствует в любых супергетеродинных приемниках. Даже
тех, которые реализуют принцип ОДНОКРАТНОГО преобразования частоты. В том числе
самых простых и дешевых. Задача такой АРУ — предотвращать перегрузку УНЧ, а,
следовательно, искажение звукового сигнала, в случае резкого возрастания уровня
сигнала ПЧ на выходе УПЧ приемника, что особенно характерно для KB диапазонов.
Это явление, в свою очередь, связано с резким возрастанием амплитуды
принимаемого сигнала в точке приема.
Так что само наличие петли АРУ-2 в предлагаемом для
повторения приемнике не является чем-то особенным. Совсем другое дело —
качественно- количественные характеристики и сам принцип, положенный в основу
действия АРУ-2 в данном случае. Как будет показано ниже, качество АРУ-2,
которое достигнуто оригинальным схемотехническим решением, значительно выше,
чем можно добиться применением, ставших уже стандартными решений. Но,
сохранение высокой линейности функционирования УПЧ2 в широком динамическом
диапазоне поступающих на его вход сигналов от преобразователя частоты V2, к
сожалению, не является окончательной гарантией высокого качества приема,
поскольку велика вероятность того, что возможна ситуация, при которой НИКАКИЕ
качественные характеристики петли АРУ-2 не спасут положения!

Это, например, может произойти в случае, если уровень
сигнала на антенном входе начинает резко возрастать. Тогда, если не принимать
соответствующих мер, на пределе своей линейности может оказаться даже усилитель
ВЧ А1. Вот почему и потребовалось применение цепи АРУ-1. Именно цепь АРУ-1
является надежной защитой от разнообразных помех, которые возникают ЕЩЕ ДО
первого преобразователя частоты в связи с тем, что любое проявление
нелинейности усилителя А1 приводит к возникновению, так называемых,
интермодуляционных искажений. Они проявляются на выходе приемника, когда на его
вход воздействует одновременно два или более сигналов, частоты которых НЕ
совпадают с частотами основного и побочного каналов радиоприема.
“Спец”: Замечательно, уважаемый Аматор. Добавлю только, что
перегрузка входного УВЧ А1 опасна еще и тем, что может возникнуть эффект, так
называемого, БЛОКИРОВАНИЯ. Это означает изменение уровня сигнала или отношения
сигнал/шум на входе приемника при воздействии радиопомехи, частота которой НЕ
совпадает ни с одной частотой основных и побочных каналов приема.
“Н”: Час от часу не легче! А что же все наши резонансные
цепи!? Сколько трудов и все напрасно?
“Спец”: Кто сказал — напрасно! Вот уж нет! Но ты не должен
забывать, что любая реальная радиотехническая цепь, обладает определенной
нелинейностью. И реальная радиотехника — это борьба за приближение к идеалу!
Никаких интермодуляционных искажений при идеальной линейности, скажем, УВЧ — не
было бы.
“А”: И весь вопрос в том, чтобы склонять в нашу пользу
количественные показатели. Ведь согласись, есть большая разница, если те же
интермодуляционные помехи уже накладываются на полезный сигнал при уровнях,
например, 50 милливольт, что и случается в обычной схемотехнике, или при
уровнях около 1 вольта, что характерно для лучших связных устройств!?
“Спец”: Мы не станем останавливаться сейчас на перечислении
иных видов помех, бороться с которыми АРУ-2 не может в принципе. Так что
применение аттенюатора R, являющегося, по сути дела, исполнительным устройством
системы автоматического регулирования минимизации уровня перекрестных,
интермодуляционных и прочих помех — необходимая мера при конструировании
современных как профессиональных, так и любительских приемников. Вот после
этого можем перейти к рассмотрению окончательного варианта принципиальной
электрической схемы радиоприемника с преобразованием “вверх”.
Информация к размышлению
Современный высококачественный радиоприемник НЕ МОЖЕТ БЫТЬ
собран на одной плате, если поставлена цель получить от него высокие характеристики!
Поскольку взаимные связи высокочастотных цепей и помехи, возникающие уже по
этой причине, при работе различных каскадов, будут принципиально снижать
качество приемника. Поэтому в данной конструкции использован принцип построения
отдельных функциональных узлов приемника в виде отдельных плат. С последующим
их объединением в ОДНОЙ секционированной, изготовленной из листовой латуни
экранированной конструкции — т.н. ОБЕЧАЙКЕ. Чертеж которой будет приведен после
описания принципиальной электрической схемы.
А. Селектор диапазонов
Принципиальная электрическая схема селектора диапазонов
приведена на рис. 28.2. Заметим, что резистор, включенный параллельно антенному
разъему, предотвращает накопление статического электрического заряда на
гальванически изолированной от земли антенне. Тип резистора — С2-29В.
Конденсатор СА обеспечивает защиту приемника при высокой статической ЭДС, в
случае подключения к нему наружной антенны. В случае использования только
собственной штыревой антенны, в качестве этого конденсатора желательно
применить высококачественный конденсатор с малой утечкой типа К76-4-1 мкФ.
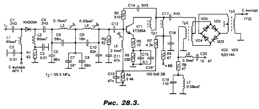
Б. Аттенюатор, широкополосный УВЧ и преобразователь первой
промежуточной частоты
Принципиальная электрическая схема этого узла представлена
на рис. 28.3.

Выделенный селектором диапазонов сигнал, вместе с большим
количеством посторонних сигналов через конденсатор С1 поступает на вход
регулируемого высокочастотного аттенюатора, в качестве которого используется
р—i—n-диод типа КА509Б, с катода которого через С4 подается на вход фильтра,
который “прозрачен” для любой из принимаемых частот, но вносит значительное
затухание для любой помехи, частота которой равна значению ПЧ1, т.е. 55,5 МГц.
Цепь R2, С11 служит для согласования импедансов (т.е. комплексных
высокочастотных сопротивлений, учитывающих как активную, так и реактивную
составляющую/ гщоводимости) фильтра-пробки и широкополосного УВЧ.
Полоса пропускания этого УВЧ линейна до частоты 35 МГц,
после чего его АЧХ (амплитудно-частотная характеристика) имеет плавно спадающий
характер. С выхода УВЧ сигнал подается на вход кольцевого балансного смесителя,
собранного на диодах Шоттки. Это высоколинейный смеситель, помехоустойчивость
которого значительно выше, чем у обычно применяемых в бытовой радиотехнике
смесителей. Кроме того, он отличается малыми шумами преобразования. В составе
этого смесителя имеются (на входе и выходе) два широкополосных трансформатора
ВЧ, соответственно, Тр2 и ТрЗ, представляющие собой ШПТЛ — широкополосные
трансформаторные, линии. Как и ШПТЛ Tpl, они выполнены на ферритовых кольцах
типа М.0.16 ВТ-8 (параметры колец: D = 10 мм, d = 6 мм, h = 2 мм). Могут быть
также использованы кольца соответствующего типоразмера на основе материала 50
ВЧ2.
С выхода смесителя (на второй вход которого подается сигнал
с выхода ГПД), полученный в результате преобразования частоты сигнал, через
трансформатор Тр2 подается на вход ДИПЛЕКСОРА (т.е. специального
высокочастотного фильтра), реализованного по Г-образной схеме. Его
характеристика оптимизирована для частоты 55,5 МГц, которая единственная из
всех иных поступающих на вход ДИПЛЕКСОРА частот, проходит его без затухания.
Таким образом, на выходе конденсатора С20 присутствует, уже предварительно
отфильтрованный, сигнал первой промежуточной частоты -55,5 МГц.
В. Узкополосный малошумящий УПЧ1 и преобразователь второй
промежуточной частоты
Принципиальная электрическая схема УПЧ! приведена на рис.
28.4.

Основой, можно сказать, “сердцем” этого УПЧ является
высокоселективный, сложный кварцевый фильтр пассивного типа, имеющий заводское
обозначение ФП2П-4-1-В, или подобный ему. Его паспортные характеристики
приведены в табл. 28.3.

Сигнал ПЧ1 (см. рис. 28.4) поступает на вход согласующего
усилителя, выполненного на транзисторе Т1, включенного по схеме с общим
затвором.
Нагрузкой этого транзистора является узкополосный кварцевый фильтр,
включенный так, как показано на принципиальной схеме. Выделенный этим фильтром
сигнал первой промежуточной частоты, подается на затвор полевого транзистора
VT3. Этот транзистор представляет собой высоколинейньщ прибор, оптимальный для
высокоимпедансного резонансного усилителя. В цепи стока VT3 включен
колебательный контур L3, С12, настроенный на частоту 55,5 МГц.
С его выхода, через конденсатор С15 сигнал поступает на вход
второго смесителя-преобразователя, также выполненного по схеме кольцевого балансного
смесителя на диодах Шоттки. На второй вход этого преобразователя частоты
поступает высокочастотный сигнал с выхода кварцованного гетеродина, частота
которого составляет 54,045 МГц. Получаемая, в результате смешения, вторая
промежуточная частота, равная 1,455 МГц, подается на вход ДИПЛЕКСОРА, параметры
которого подобраны таким образом, что для приведенной выше частоты его
затухание минимально. Транзистор Т2 является первым каскадом системы,
вырабатывающей сигнал управления для АРУ-1. В качестве нагрузки в нем применен
колебательный контур, настроенный на частоту 55,5 МГц.
Г. Генератор плавного диапазона (ГПД)
Принципиальная электрическая схема генератора плавного
диапазона (ГПД) приведена на рис. 28.5.

С целью получения как можно большей ЧИСТОТЫ спектра сигнала
гетеродина, кроме того, высокой стабильности его частоты (или малой
кратковременной нестабильности), и, наконец, отказавшись от использования в
составе этого ГПД в качестве элемента настройки конденсатора переменной
емкости, была принята как ранее указывалось следующая идеология его построения.
Прежде всего, гетеродин реализован на основе сложной,
многокаскадной схемы. Собственно перестраиваемый по частоте задающий генератор
собран на малошумящем СВЧ (сверхвысокочастотном) транзисторе типа КТ382А.
Основная задача задающего генератора — обеспечить устойчивую генерацию
высококачественного, спектрально чистого высокочастотного сигнала. Но для этого
амплитуда сигнала на выходе собственно ЗГ (задающего генератора) должна быть
МАЛОЙ. А режим работы транзистора должен быть выбран в наиболее линейной
области его вольт-амперных характеристик.
Вот почему в схеме, представленной на рис. 28.5 амплитуда
высокочастотного сигнала на коллекторе транзистора КТ382А не превышает 0,15—0,2
вольта! Поэтому необходимо наличие дополнительного широкополосного ВЧ
усилителя, который, сохраняя высокую спектральную чистоту сигнала, увеличил бы
его амплитуду до 1,8—2,5 вольт. Поскольку именно такой уровень высокочастотного
напряжения требуется для оптимальной работы кольцевого балансного смесителя на
диодах Шотгки.
Относительно выбора принципиальной электрической схемы
оконечного усилителя для ГПД вопроса не возникает. Поскольку все необходимые
для этого параметры имеет (уже примененный нами ранее в качестве УВЧ) высоко
линейный широкополосный усилитель на ШПТЛ. Он и реализован на транзисторе VT5.
Однако, такой каскад имеет 50-омный вход, следовательно, подавать на него
сигнал непосредственно с выхода ЗГ не представляется возможным. Необходима
развязывающая схема, достаточно высокий входной импеданс которой не нагружал бы
существенно ЗГ. Именно такой развязывающий каскад и выполнен на полевом
транзисторе VT2, включенном по схеме с общим затврром. В то же время его
выходной импеданс оптимально согласован с оконечным каскадом.
Дополнительным преимуществом подобного подхода является
возможность очень легко осуществить подстройку амплитуды выходного сигнала ГПД.
В случае если его необходимо почему-либо увеличить, для этого достаточно,
абсолютно не вмешиваясь в режим работы ЗГ, просто немного изменить номинал
резистора R25. Если уменьшить его величину с 10 Ом, как показано на схеме, до
5,6 Ом, то амплитуда выходного сигнала возрастет, примерно, в 1,5 раза! А если
увеличить до 13 Ом, то выходной сигнал уменьшится на 25—30 %.
Как очевидно из принципиальной электрической схемы,
регулируемым частотнозадающим параметром описываемого ГПД является емкость
варикапов VD1 и VD2. Известно, что колебательный контур, перестраиваемый
варикапом, имеет определенный, достаточно существенный недостаток. Он
заключается в том, что переменное напряжение, поступающее на контур, изменяет
величину емкости варикапа таким же образом, как и подводимое для настройки
управляющее напряжение. Вследствие этого, во-первых, емкость варикапа
изменяется в такт с изменением переменного (высокочастотного) напряжения. И,
во-вторых, происходит сдвиг среднего значения емкости в связи с тем, что
положительная и отрицательная полуволны вызывают РАЗЛИЧНОЕ изменение
мгновенного значения емкости!
Вот почему из-за изменения мгновенного значения емкости
варикапа, переменное напряжение ВЧ может принять форму, заметно отличающуюся от
желанной синусоиды. Помимо прочего, это приводит как к ухудшению стабильности
работы гетеродина, так и к резкому возрастанию его фазовых шумов. Полезно также
всегда помнить, что нелинейные эффекты в контурах, содержащих варикапы,
начинаются с того момента, когда амплитуда приложенного к ним высокочастотного
напряжения составляет ОДНУ ТРЕТЬ от величины постоянного напряжения,
подаваемого на этот компонент. Метод борьбы с подобным недостатком имеется. Он
заключается в том, что вместо одного варикапа в составе задающего
колебательного контура применены ДВА. Они включены по ВЧ-сигналу
последовательно и в противофазе, а по постоянному напряжению— параллельно. Что
и реализовано в принципиальной электрической схеме рассматриваемого ГПД. В этом
случае на каждый компонент пары приходится только ПОЛОВИНА величины общей
амплитуды переменного напряжения сигнала. Это уже само по себе улучшает
соотношение.величин переменного и постоянного управляющего напряжений,
одновременно прикладываемых к варикапу.
Но самое основное заключается в том, что благодаря
незначительному и противоположно направленному измендаию емкости, когда
используются два встречно включенных компонента пары, мгновенное значение общей
емкости контура, фактически, остается постоянным. Следует заметить, что в
данном ГПД применены высококачественные варикапы типа КВ-121А. Эти компоненты
поставляются заводом-изготовителем также и в виде предварительно подобранных по
параметрам пар и четверок. В этом случае компенсация вообще получается полной.
Но, как показала практика, даже в случае применения предварительно НЕ
подобранных в пары компонентов, качество выходного сигнала ГПД остается очень
высоким.
Другой вопрос заключается в том, что для обеспечения
нормального функционирования ГПД, основанных на использовании варикапов,
стабильность и качество подаваемого на них постоянного управляющего напряжения
должно быть ОЧЕНЬ высоким. Так, в радиоприемниках с преобразованием “вверх”
стабильность этого напряжения должна поддерживаться с точностью не хуже 0,2
милливольта (или 0,0002 вольта)! Мало того, поскольку, тем или иным образом, в
состав задающего колебательного контура 3 Г ГПД входят проходная, входная и переходная
емкости транзистора (а они существенно меняются при колебаниях питающего ЗГ
постоянного напряжения), это означает, запитывать каскады ГПД следует также от
высокостабильного источника напряжения.
Практика подтвердила не раз, что наиболее рационально питать
каскады ГПД от индвидуального высокостабильного источника напряжения. Что и
сделано в описываемом ГПД. Непосредственно на плате ГПД расположен прецизионный
стабилизированный источник питания, построенный по компенсационной схеме на
транзисторах VT6, VT7 и микросборке типа 198НТ1А. Принцип работы подобных
стабилизаторов будет рассмотрен ниже, а пока вернемся к особенностям
принципиальной схемы ГПД. Для того, чтобы в максимальной степени повысить
качественные показатели работы генератора плавного диапазона (ГПД), следует
учесть еще некоторые обстоятельства. Например, то, что катушка индуктивности (в
данном случае L2) частотнозадающей цепи гетеродина НЕ ДОЛЖНА коммутироваться
непосредственно. Это важное требование, как правило, в бытовой радиотехнике
полностью игнорируется по экономическим причинам. Между тем, невыполнение этого
требования резко снижает даже чисто радиотехнические параметры гетеродинов. Не
говоря уже о снижении надежности. В данной конструкции подобный факт учтен
самым тщательным образом. Это послужило одной из причин того, что в составе
данного ГПД имеются ДВА разных ЗГ. Один из них включен, когда осуществляется
прием на поддиапазонах 1—4. А второй — когда прием производится на
поддиапазонах 5—8. При этом с помощью герконовых реле типа РЭС-44
осуществляется подача питающих напряжений и съем сигнала ВЧ с того из двух ЗГ,
который обеспечивает подключение выбранного для прослушивания участка
частотного спектра. Оконечный ВЧ-усилитель оптимален для всего диапазона, а
потому напряжение питания подается на него в течение всего времени работы
радиоприемника. Дальше предоставляю слово Аматору.
“Аматор”: У нас на очереди УПЧ2.
Д. Усилитель второй промежуточной частоты и его цепь АРУ-2
Принципиальная электрическая схема усилителя второй
промежуточной частоты УПЧ2 и его цепи АРУ-2 представлена на рис. 28.6.

С выхода ДИПЛЕКСОРА второго преобразователя частоты, сигнал
подается на конденсатор С1. А с него на Г-образный аттенюатор, образованный
резистором R1 и фоторезистором, входящим в состав оптрона АОР124А (ЗОР124А).
Далее, через конденсатор С4 сигнал поступает на первый затвор двух-затворного
полевого МДП-транзистора КП306А. Потенциал второго затвора с помощью резисторов
R2 и R3 отрегулирован таким образом, чтобы обеспечить работу транзистора на
квадратичном участке переходной вольт-амперной характеристики.
В качестве нагрузки транзистора VT1 применен колебательный
контур С6, L1 настроенный на частоту 1,455 МГц, т.е. на ПЧ2. Двухзатворные
полевые МДП-транзисторы указанного типа оптимальны для построения высококачественных
резонансных усилителей ввиду того, что практически не оказывают шунтирующего
действия на эти контура. Следовательно, не происходит ухудшения добротности
контуров.
Далее, выделенный первым каскадом сигнал с частотой 1,455
МГц поступает, на аналогичный второй каскад, также настроенный на частоту 1,455
М Гц. А затем и на третий. Выходной сигнал которого должен подаваться на
амплитудный детектор для выделения составляющей низкой частоты. Одновременно с
этим, сигнал с выхода УПЧ2 через конденсатор С23 подается на вход балансного
амплитудного детектора, собранного на диодах VD1—VD6. Выходы этого детектора
поданы на дифференциальный УПТ (усилитель постоянного тока), собранный на ОУ
(операционном усилителе) типа КР140УД1408А. В случае, если сигнал на входе УПЧ2
отсутствует, на выходе этого УПТ уровень постоянного УПРАВЛЯЮЩЕГО напряжения
равен нулю.
А значит и на входе ИТУН (источника тока, управляемого
напряжением), потенциал равен нулю. При этом ток через светоизлучающий диод,
входящий в состав оптрона, не протекает. Следовательно, фоторезистор имеет
максимальное сопротивление. В этом случае на затвор транзистора VT1 поступает,
практически, ВСЯ амплитуда входного сигнала. Но, выделенный резонансными
контурами и усиленный сигнал второй ПЧ (1,455 МГц), поступив на вход балансного
амплитудного детектора, после соответствующего выпрямления, разбалансирует
дифференциальный усилитель, на выходе которого теперь появится некоторый
постоянный потенциал UУПР.
Величина этого потенциала находится в прямой зависимости от амплитуды
сигнала ПЧ2 на выходе УПЧ2. При подаче на вход ИТУН, потенциал управляющего
сигнала вызовет появление в цепи нагрузки ИТУН некоторого значения постоянного
тока, протекающего по нагрузке. Которой в данном случае является цепь,
состоящая из R21 и светодиода оптрона. В результате, излучаемый этим
светодиодом поток фотонов, попав на поверхность фоторезистора, резко уменьшит
его сопротивление.
В этом случае изменяется соотношение сопротивлений в
Г-образном аттенюаторе и сигнал, поступающий на затвор VT1 — уменьшается. Таким
образом, цепь АРУ-2 оказывается замкнутой, а система авторегулирования—
функционирующей. Естественно, подобная цепь АРУ является очень эффективной и
хорошо поддающейся регулированию и настройке по следующим причинам:
а) отношение проводимости
максимально освещенного (для данного оптрона) фоторезистора к его минимальной,
т.е. “темновой” проводимости, составляет величину порядка нескольких тысяч;
б) автоматическая регулировка
усиления подобного типа НЕ ЗАТРАГИВАЕТ режимов работы усилительных каскадов
УПТ2 по постоянному току. А значит, не ухудшает их линейных, шумовых и
резонансных характеристик;
в) легко поддается регулированию,
первоначальная отладка собственно УПЧ2 и АРУ-2 может осуществляться раздельно.
Е. Генератор кварцованный (второй гетеродин)
Схема кварцованного генератора каких-либо .особенностей не
содержит и представлена на рис. 28.7.

Содержит задающий генератор (ЗГ) на транзисторе КТ326Б,
стабилизированного кварцевым резонатором на частоту 54,045 МГц. А также
оконечный высокоимпедансный усилитель на однозатворном полевом МДП-транзисторе
КП305Д и р—п—р-транзисторе типа КТ337. В качестве нагрузки оконечного
биполярного транзистора включен колебательный контур С13, L4, настроенный на
частоту кварца.
Ж. Принципиальная электрическая схема цепи АРУ-1
На рис. 28,8. представлена принципиальная электрическая
схема цепи АРУ-1.

С выхода резонансного усилителя, собранного на Т2 (см. рис.
28.4.), через конденсатор СЮ, сигнал ПЧ1 (55,5 МГц) подается на вход балансного
амплитудного детектора, собранного на диодах VD1—VD6. Для точной регулировки
баланса служит подстроенный резистор R7 типа СП5-16ВА-0,25. С выходов этого
детектора как опорный, так и продетектированный сигналы подаются на
соответствующие входы высокоточного ИЗМЕРИТЕЛЬНОГО УПТ, построенного на
микросхемах D3—D5.
Выбор подобной принципиальной схемы этого усилителя
постоянного тока (УПТ), мотивируется целым рядом факторов. Во-первых, подобные
усилители сочетают в себе значительное количество технических показателей,
которые делают их наиболее предпочтительными для применения в системах АРУ
приемников высокого класса. Это, прежде всего, высокая точность и постоянство
однажды установленных режимов. Кроме того, именно ИНСТРУМЕНТАЛЬНЫЕ УСИЛИТЕЛИ
дают возможность легко и в широких пределах (притом без помощи паяльника) регулировать
коэффициент усиления по дифференциальному входу: который легко подсчитывается
по формуле:
КU = R19/R17 * ((2R14 /R17)+1)
При этом, поскольку баланс инструментального усилителя
регулируется отдельным подстроенным резистором R21, то регулировка усилителя на
“нуль” не представляет никаких трудностей. Резистор R15 состоит из двух
последовательно включенных резисторов. Что и определяет, в зависимости от
крайних положений ползунка подстроенного резистора, его максимальное и
минимальное значения коэффициента усиления.
С выхода микросхемы D5 сигнал, который теперь представляет
собой некоторый постоянный отрицательный потенциал, подается на вход ИТУН1,
который собран на D2 и транзисторах VT3 и VT4. Абсолютная величина этого
отрицательного потенциала зависит, в основном, от двух факторов. Во-первых, от
абсолютной величины дифференциального входного напряжения, которое приложено ко
входам инструментального усилителя. А это напряжение, в свою очередь, после
предварительной настройки схемы, зависит ТОЛЬКО от амплитуды ВЧ-сигнала,
поступающего на вход балансного детектора. Во-вторых, от значения выбранного К.
Напомним, что дифференциальное входное напряжение представляет из себя:
U ВХ.ДИФФ = D UВХ = U
2 - U1
Если сигнал на выходе инструментального усилителя (ИУ) равен
нулю, то, соответственно, генерируемый схемой ИТУН1, также равен нулю. Это
означает, что светодиод оптрона ЗОР124А — не светится. Следовательно,
сопротивление резистора оптрона максимально. А, значит, этот фоторезистор не
оказывает никакого шунтирующего действия на резистор R2, который, в свою
очередь, входит в состав делителя напряжения, определяющего уровень
положительного потенциала на входе ИТУН2.
Токовой нагрузкой ИТУН2, как это видно из принципиальной
схемы, является р—i—n-диод. Именно его высокочастотная проводимость и является
объектом регулирования. Но в исходном состоянии проводимость этого диода должна
быть максимальной. То есть ИТУН2 построен таким образом, что при отсутствии
сигнала на входе петли АРУ-2, величина тока через этот диод максимальна и
выбирается из технических характеристик оптрона. Следовательно, высокочастотная
проводимость при этом тоже максимальна.
Но в том случае, если на вход балансного амплитудного
детектора цепи АРУ-1 поступает высокочастотный сигнал, в зависимости от своей
амплитуды, он вызывает на выходе инструментального усилителя соответствующий
потенциал, имеющий ОТРИЦАТЕЛЬНУЮ полярность. Который, как уже говорилось ранее,
понижая сопротивление фоторезистора, входящего в состав оптрона ЗОР124А, уменьшает
величину положительного смещения на неинвертирующем входе ОУ D1. Это,
соответственно, приводит к уменьшению величины постоянного тока, протекающего
через структуру диодного аттенюатора. Следовательно, высокочастотная
проводимость последнего становится меньше. А значит, уровень ВЧ-сигнала на
входе широкополосного УВЧ — существенно понижается.
Таким образом, цепь АРУ-1 оказывается замкнутой. Напомним,
что именно малое высокочастотное сопротивление р—i—n-диода в открытом состоянии
(т.е. максимальной проводимости) позволяет включать его в состав входной цепи
радиоприемника. Причем, именно ДО входа предварительного УВЧ! Практически, не
увеличивая при этом коэффициент шума. При таком включении -диод действует, как
легко регулируемый линейный ослабитель (аттенюатор), у которого значение
коэффициента ослабления является плавной функцией от протекающего через этот
диод постоянного тока.
А, следовательно, функцией входного сигнала. В связи с этим
во много раз увеличивается способность приемника воспроизводить без искажений
сигналы, уровень которых изменяется во времени случайным образом, причем в
широком динамическом диапазоне. Поэтому р—i—n-диод в значительной степени
отличается от обычного диода с р—n-переходом тем, что между областями с
дырочной и электронной проводимостями, находится слой полупроводникового
материала с СОБСТВЕННОЙ ПРОВОДИМОСТЬЮ, так называемый i-слой. Этот слой
характеризуется очень малым содержанием примесей и поэтому обладает большим
удельным сопротивлением. Когда ток через структуру такого диода не проходит,
объемное сопротивление слоя, обладающего собственной проводимостью,
характеризуется величиной эквивалентного сопротивления, составляющего обычно от
7 до 10 килоом. (это при 50-омной то схемотехнике!)
А минимальное его сопротивление порядка единиц Ом. Изменение
величины объемного сопротивления, в зависимости от изменения прямого тока
смещения, легко подсчитать по формуле:
R1 = 26/I0'87,
где R1 — выражено в омах, I — в миллиамперах.
“Аматор”: Если Вы, уважаемый Спец, не против, я хотел бы,
чтобы какую-то часть в процессе наших объяснений принял и Незнайкин.
“Спец”: А почему я должен быть против? Ну, наша будущая
смена, “прошу к доске”.
“Незнайкин”: Так и я не против. Свой рассказ начну с
преобразователя напряжения.
3. Высокостабилизированный преобразователь напряжения для
варикапов ГПД
Принципиальная электрическая схема этого узла уже была
представлена на рис. 16.4. Функционирование этого преобразователя напряжения
происходит следующим образом. Задающий низкочастотный генератор, снабженный
двумя различными, независимыми системами обратной связи, стабилизирующими
амплитуду выходного переменного напряжения, генерирует низкочастотный
синусоидальный сигнал. Этот сигнал подается на вход двухтактного оконечного
усилителя мощности, выход которого по петле обратной связи через резисторы R1 и
R5 подается на вход и, соответственно, осуществляет авторегулировку режима
транзистора VT1, на котором и реализован ЗНГ (задающий низкочастотный
генератор). Лампочка накаливания “Л1”, включенная в цепь эмиттера транзистора
VT1, является нелинейным элементом цепи обратной связи по амплитуде выходного
сигнала.
Характер подобного элемента цепи ОС (обратной связи) —
параметрический. Та часть сигнала ЗНГ, которая подается в цепь базы VT1 через
фазосдвигающую цепочку Rl, Cl, C2 — носит компенсационный характер. Таким
образом, с выхода той части принципиальной схемы, которая реализована на
транзисторах VT1—VT6, через конденсатор связи С7, стабилизированный по
амплитуде сигнал от ЗНГ подается на вход усилителя амплитуды (мощности)
выходного сигнала. Он выполнен на транзисторе VT7, нагрузкой которого служит
импульсный повышающий трансформатор Tpl. Со вторичной обмотки которого, после
выпрямления и фильтрации, положительное напряжение, величина которого
составляет около 38 вольт, подается на вход прецизионного стабилизатора
напряжения, собранного по компенсационной схеме на транзисторах VT8 и VT9 и
микросхеме 198НТ1А.
С целью получения максимально высоких качественных
показателей, в данном высокоточном стабилизаторе напряжения, вместо имеющих
достаточно высокий уровень шумов стабилитронов, использованы, соответствующим
образом включенные, интегральные транзисторы, входящие в состав микросборки.
Это позволило также значительно понизить величину сквозного тока через
структуру цепочки, выполняющей функции генератора опорного напряжения от
значения 5—8 миллиампер (в случае применения обычного стабилитрона) до 1
миллиампера, что в данном конкретном случае является существенным. Наличие в
схеме подстроечного резистора R19 типа СП5-16ВА-0,125 (или подобного, но
обязательно “закрытой” конструкции) дает возможность осуществить подстройку
величины выходного высокостабилизированного напряжения представленной на рис.
16.4. схемы в пределах от 26 до 34 вольт.
“Спец”: Ну просто как по книге. Молодцом! Продолжай в том же
духе.
Но помни, что для “большого приемника” узел, включающий
R21—R25 — отбрасывается. И заменяется другим!
“Незнайкин”: Я попробую...
И. Амплитудный детектор и усилитель мощности звуковой
частоты
Конструктивно, в состав электронных узлов приемника,
скомпонованных в единой обечайке, данный узел не входит. И поэтому выполнен на
отдельной печатной плате. Это, помимо прочего, дает возможность делать его
легкозаменяемым, т.е. сменным. При дальнейшей модификации описываемого
радиоприемника, предполагается ввести в состав последнего СИНХРОННЫЙ ДЕТЕКТОР.
Поэтому применение той или иной разновидности УМЗЧ, соответствующей различным
тенденциям и взглядам, касающимся этого вопроса, присущих различным
радиолюбителям-конструкторам, также не может игнорироваться.
Поэтому, вместо представленной на рис. 28.9, принципиальной
электрической схемы узла УМЗЧ, может быть использована и иная.

В предложенном автором варианте УМЗЧ используется обычный
амплитудный диодный детектор с предварительным смещением диода, позволяющий
существенно линеаризовать его характеристику. С выхода амплитудного детектора,
через конденсатор С4, выделенная низкочастотная составляющая сигнала подается
на предварительный усилитель, выполненный на транзисторах VT1 и VT2, охваченных
глубокой отрицательной обратной связью. С выхода предварительного усилителя
низкой частоты сигнал поступает на двухтактный оконечный каскад, все пять
транзисторов которого, а именно, VT3—VT7 охвачены отрицательной обратной связью
тю постоянному току, что способствует стабилизации режимов работы каскадов УМЗЧ
и значительно улучшает линейность.
“Аматор”: Хочу сделать небольшое примечание: в качестве
резистора R15 желательно применить СП5-16ВА-0,25 или подобный. Все постоянные
резисторы ОМЛТ-0,125 или С2-23-0,125. Конденсаторы С6 и С9 желательно применить
танталовые (тип К52-1). Остальные — К50-35Б. А еще лучше — производства Южной
Кореи или Тайваня.
А вот о блоке питания просил бы рассказать Вас, уважаемый
Спец.
“Спец”: Ну, что же, не вижу причин для отказа.
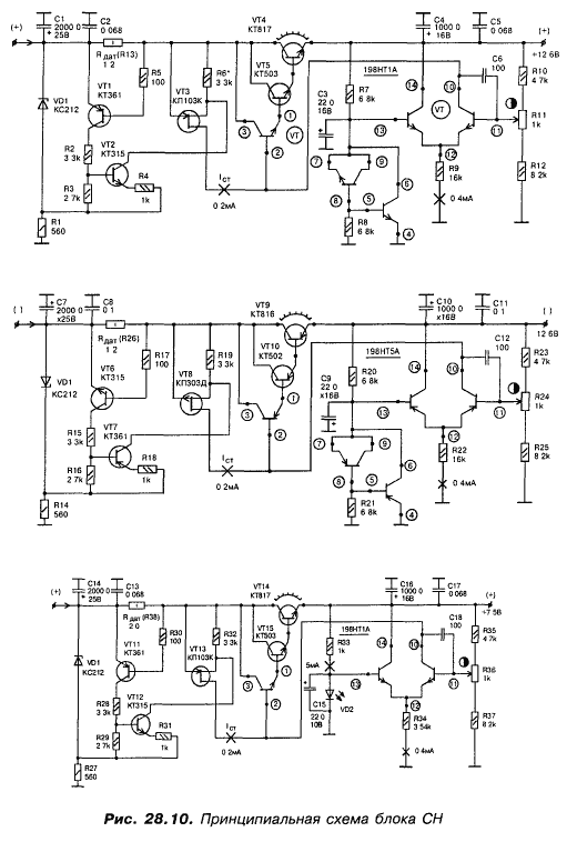
К. Схема и описание блока стабилизированных источников
питания
Принципиальная электрическая схема блока стабилизированных
источников питания предлагаемого для повторения приемника, представлена на рис.
28.10. Как легко видеть, в одном блоке объединены три автономные
стабилизированные источника напряжения: +12,6, -12,6, и +7,5 вольта.

Рассмотрим функционирование этих стабилизированных
источников на примере СН (стабилизатора напряжения) на +12,6 вольта. Он
представляет собой стабилизированный источник напряжения компенсационного типа
с последовательно включенным исполнительным регулирующим устройством, в
качестве которого использован составной проходной транзистор (схема
Дарлингтона). Проходной транзистор состоит из трех транзисторов,
соответственно, VT4, VT5 и интегрального транзистора, входящего в состав
транзисторной сборки 198НТ1 А, остальные интегральные транзисторы которой
используются в схеме сравнения.
Как известно, схема Дарлингтона обладает очень высоким
значением ВСТ Величина которого 10000 и более. Таким образом,
задаваясь значением максимального тока, отдаваемым СН в нагрузку, равного в
нашем случае 0,4 ампера, нетрудно убедиться, что для этого достаточно, чтобы
базовый ток интегрального транзистора, входящего в состав составного, был
равен, примерно, всего 5 микроамперам! Особенность работы данного стабилизатора
напряжения (СН) заключается в том, что его функционирование проходит по
основной формуле
IСТ = 0,2 миллиампера.
Ток стока полевого транзистора VT3 является строго
фиксированной и стабильной величиной. Во-первых, потому что VT3 и R6
представляют собой СТАВИЛ ИЗАТОР ТОКА уже по причине самой конфигурации их
включения. Во- вторых, значение тока стока равное 0,2 миллиампера, в данном
случае выбрано далеко не случайно. Эксперименты показали, что для Р-канального
полевого транзистора типа КП103 К, именно эта величина тока стока является
“магической”. То есть лежит в области особой, термостабильной точки проходной
характеристики этого транзистора, ток стока в которой НЕ ЯВЛЯЕТСЯ функцией
температуры в пределах от -40 до +85 °С! Вот по какой причине применение
полевых транзисторов того же типа КП 103, но других индексов, крайне
нежелательно.
Более того, практика показала, что при построении СН этого
типа, желательно иметь уже заранее подобранные пары (транзистор VT3 — резистор
R6), поскольку для различных образцов полевого транзистора КП103К (2П103В)
значение R6 может варьироваться. Как легко видеть, базовый ток интегрального
транзистора VT1 вызывает значительный коллекторный ток силового регулирующего
(проходного) транзистора VT4, через который проходит ВЕСЬ ток, питающий
нагрузку СН. Пусть в силу ряда причин, значение нестабилизированного напряжения
на входе СН — повысилось.
Ток стока вышеупомянутого полевого транзистора КП103К
остался при этом прежним. Но выходное напряжение СН, в силу роста его входного
напряжения, получает тенденцию к возрастанию. Однако, потенциал базы левого по
схеме транзистора схемы сравнения (его выводы соответствуют номерам 14, 13 и 12
— см рис. 28.10) ЖЕСТКО стабилизирован опорным напряжением, в точке 13. И
незначительное увеличение коллекторного напряжения этого транзистора — не
изменит значения его коллекторного тока. А, следовательно, и значения его
эмиттерного тока. А это значит — и тех 50% тока, которые приходятся на его долю
и вместе с другими 50%, которые обеспечивает правый по схеме транзистор (его
выводы соответствуют номерам 10, И и 12) создают на общем для этой пары
транзисторов эмиттерном резисторе R9 жестко застабилизированный потенциал UR9.
Но если упомянутая выше тенденция к возрастанию выходного напряжения СН не
способна изменить потенциал базы ЛЕВОГО по схеме транзистора эмиттерно
связанной пары транзисторов, то как раз о потенциале базы ПРАВОГО транзистора
эмиттерно-связанной пары — этого сказать нельзя
Через выходной делитель напряжения, образованный резисторами
R9, R11 и R12, произойдет некоторое повышение потенциала базы. Вслед за этим,
токовые режимы схемы претерпят следующие изменения. Во-первых, возрастет
коллекторный ток правого транзистора пары. Но вот потенциал эмиттера этого
транзистора — останется на прежнем уровне. Поскольку при этом левый транзистор
просто соответственно уменьшит свою долю тока через R9. Таким образом,
каких-либо препятствий на УВЕЛИЧЕНИЕ своего коллекторного тока правый
транзистор микросборки не имеет. Но, в свою очередь, даже это очень малое (а
оно именно очень малым и будет) УВЕЛИЧЕНИЕ коллекторного тока правого
транзистора, вызывает РАВНОЕ ЕМУ по абсолютной величине, УМЕНЬШЕНИЕ базового
тока составного транзистора (см. основную формулу работы СН:
IСТ = IБ VT + IК VТ =
const!).
Следовательно, это вызовет немедленное призапирание
проходного транзистора VT4. Ну и как следствие этого — уменьшение выходного
напряжения СН. То есть — возвращение регулируемого параметра — выходного
напряжения к своему первоначальному значению. Нетрудно показать, что
УМЕНЬШЕНИЕвеличины нестабилизированного входного напряжения, поступающего на
вход СН, приведет к тому же результату. То есть ЗНАЧЕНИЕ ВЕЛИЧИНЫ ВЫХОДНОГО
НАПРЯЖЕНИЯ СН — ОСТАНЕТСЯ НЕИЗМЕННЫМ. То же самое будет происходить при
изменении тока нагрузки. Практика работы с подобными СН показывает, что данная
схема работает очень эффективно, достаточно проста и обеспечивает величину
коэффициента стабилизации выходного напряжения около 2000. При том, что уровень
пульсаций на выходе не превышает 1,2 милливольта.
В состав принципиальной электрической схемы СН входит также
узел электронной защиты проходного транзистора от короткого замыкания по
нагрузке. Этот узел включает в себя датчик короткого замыкания на выходе СН. В
качестве этого датчика служит резистор R13. Его номинал подобран таким образом,
что пока ток нагрузки не превышает 0,4 ампера, падение напряжения на резисторе
R13 недостаточно для отпирания транзистора VT1. Следовательно, делитель
напряжения в коллекторной цепи VT1, состоящий из последовательно включенных
резисторов R2 и R3 обеспечивает надежное запирание транзистора VT2.
При этом его коллекторный ток равен нулю и никакого влияния
на режим работы стабилизатора тока (VT3, R6) цепь защиты не оказывает. Но как
только на выходе схемы СН возникнет режим короткого замыкания, или даже просто
превышения предельно допустимого тока нагрузки, на R13 возникает падение
напряжения, превышающее пороговое напряжение отпирания транзистора VT1. Который
из запертого состояния немедленно перебрасывается в насыщенное. В таком случае
его коллекторный ток создает на R3 падение напряжения, которое приводит к
возникновению коллекторного тока транзистора VT2.
Поскольку этот ток протекает по резистору R6, он создает на
нем падение напряжения, которое полностью запирает полевой транзистор VT3.
Таким образом, составной проходной транзистор и схема сравнения переводятся в
закрытое состояние. Но, как видно из анализа этой схемы, прекращение протекания
тока нагрузки, приводя к снижению падения напряжения на резисторе датчика,
вызовет прекращение воздействия схемы защиты. А значит имеет место динамический
процесс, который вызовет протекание через проходной транзистор некоторого
КРИТИЧЕСКОГО тока, величина которого для данной схемы составляет, примерно, 0,5
ампера. Этот ток не разрушит проходной транзистор и обеспечит резерв времени, в
течение которого можно зафиксировать факт короткого замыкания (КЗ) или просто
аварийной ситуации в нагрузке и принять соответствующие меры. Аналогичным образом
работают и остальные два СН блока питания приемника.
Л. Силовая часть блока питания
Принципиальная электрическая схема силовой части приведена
на рис. 28.11.

Каких-либо особенностей силовая часть не имеет, за
исключением того, что силовые трансформаторы Tpl и Тр2 — тороидальные.
Соответственно, их номинальные мощности составляют 25 ВА и 10 ВА. Сердечники
должны соответствовать этой мощности.
“Аматор”: Теперь на очереди цифровой частотомер...
“Незнайкин”: Я весь внимание и готов записывать. Но вот к
анализу еще не очень готов.
“Спец”: Это я понимаю. Поэтому прошу внимания, мы
приступаем.
М. Принципиальная электрическая схема частотомера и цифровой
шкалы. Описание принципов работы частотомеров. Пояснение особенностей работы
универсальной цифровой шкалы приемника с преобразованием “вверх”
Как известно, в современных радиоприемных устройствах
высокого класса считается признаком дурного тона использовать механическую
шкалу настройки. Это тем более справедливо, если речь идет о приемниках
профессионального типа, либо для приемников дальнего приема, обладающих
повышенными требованиями к чувствительности и избирательности, особенно в
диапазоне КВ.
И, наконец, применение цифровой шкалы настройки в приемниках
с преобразованием “вверх”, особенно если в них применены варикапные матрицы
(как в данном случае), представляется абсолютно необходимым. Вообще в последние
годы восторжествовала тенденция замены механического шкального устройства с его
ненадежным механизмом, электронным устройством цифрового отсчета частоты (ЦОЧ),
обеспечивающим высокую точность измерения частоты принимаемого сигнала
(погрешность менее 0,5% в КВ-диапазоне). А также хорошую визуальную индикацию
частоты настройки и прочие возможности. Например, программируемое изменение
частоты приема по заранее составленному временному графику или осуществление
автоматического поиска станции и слежение за ней в условиях вариаций ее рабочей
частоты в точке передачи.
В общем случае ЦОЧ или ЦИФРОВАЯ ШКАЛА, представляет собой
некий счетчик частоты настройки, оснащенный цифровым индикатором. Следует
заметить, что непосредственное измерение частоты принимаемого сигнала
затруднительно, поскольку уровень этого сигнала может, в принципе, оказаться
недостаточным, либо вообще отсутствовать. В частности, это происходит при
глубоком замирании сигнала — феддинге. Поэтому при реализации цифровой шкалы
прибегают к косвенным методам измерения, основанным на использовании частоты
гетеродина (в нашем случае — ГПД). Чтобы при измерении частоты гетеродина frer
индицировалась частота принимаемого сигнала fci)ri), в
приемниках с преобразованием “вверх” необходимо внести поправку:
f СИГН = f ГЕТ - f ПР
Внести такую поправку на величину промежуточной частоты
можно несколькими способами, основанными на применении следующих методов:
а) двух счетчиков частоты,
б) счетчика частоты, включающего
дополнительный дешифратор на ПЧ,
в) вычитателя частоты в
преобразователе кода,
г) счетчика частоты с
предварительной установкой.
Вот, например, как осуществляется принцип работы ЦОЧ с одним
счетчиком частоты и дополнительным дешифратором на частоту, равную ПЧ. Смысл
метода заключается в том, что за время измерения (мерный интервал) счетчик
подсчитывает импульсы, начиная с нулевого состояния, до тех пор, пока не
пройдет число импульсов, соответствующее значению ПЧ. Затем счетчик
устанавливается в “О” и процесс измерения продолжается. Таким образом, к
моменту окончания процесса подсчета, состояние счетчика соответствует искомому
значению частоты сигнала. Данный метод предусматривает формирование
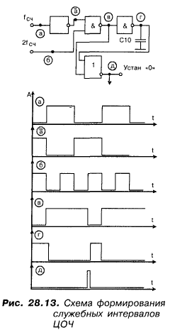
последовательностей импульсов. Итак, используется только ОДИН счетчик, который
ДВАЖДЫ сбрасывается в “0” в течение одного цикла счета. Структурная схема
такого ЦОЧ приведена на рис. 28.12.

Функционирование осуществляется следующим образом. Импульс
установки, поступающий со схемы формирования временных интервалов 4 через схему
логического суммирования 7 подается на вход установки 0 (вход R) счетчика 3.
Помимо этого, импульс установки подается еще на вход R триггера 5. Таким
образом, узлы 3 и 5 — сбрасываются в “0”. Этим самым за период счетного
интервала (время Т ) осуществляется подсчет импульсов с нулевого состояния до
того момента, пока через декады счетчика не пройдет число импульсов,
соответствующее значению ПЧ. В состав схемы входят также формирователь импульсов
1 и схема совпадений 2. Поступающая затем с выхода дешифратора 8 на вход S
триггера 5 логическая ЕДИНИЦА, перебрасывает триггер во включенное состояние.
При этом положительный перепад напряжения на его выходе 0, запускает устройство
формирования коротких импульсов 6. Выходной импульс, пройдя через схему
сложения 7, вторично сбрасывает счетчик в “0”. Поскольку до прихода следующего
импульса установки S — триггер 5 будет сохранять (запоминать) состояние на
выходе, которое соответствует логической “1”, то за оставшееся время счета,
полностью исключается возможность обнуления счетчика, благодаря чему
достигается корректировка на величину ПЧ.
Заметим, что с выхода счетчика 3 по информационной шине
поток данных о числовом значении измеряемой частоты сигнала подается на
преобразователь кода 9, а затем на многоразрядный цифровой индикатор 10. В
качестве еще одного метода, который вполне может подойти для решения стоящей
перед нами задачи, является устройство ЦОЧ, основанное на использовании
“счетчика частоты с предварительной установкой”. В этом случае счетчик
устанавливается не на “0”, а в такое состояние, чтобы после прохождения числа
импульсов, соответствующих ПЧ, счетчик просто пришел в некоторое исходное
состояние, предварительно записанное в память. Этот метод некоторые авторы
рекомендуют при использовании цифровых микросхем среднего уровня интеграции,
допускающих предварительную установку произвольного числа. Этот метод
действительно очень хорош и, как мы покажем ниже, примененные в составе нашей
цифровой шкалы микросхемы, вполне допускают осуществление предварительной
установки произвольного числа. Тем не менее, при проектировании приемника был
избран ранее описанный метод, базирующийся на применении ОДНОГО счетчика
частоты и дополнительного дешифратора на ПЧ.
Решающим аргументом, определившим выбор метода построения
цифровой шкалы для приемника, послужило следующее обстоятельство. Дело в том,
что при прочих равных условиях, выбранный нами метод представляется более
универсальным. Поскольку обеспечивает НАИБОЛЕЕ ПРОСТО РЕАЛИЗУЕМУЮ возможность
построения цифровой системы, совмещающую в себе функции как ЦИФРОВОЙ ШКАЛЫ, так
и компактного ИЗМЕРИТЕЛЬНОГО ЧАСТОТОМЕРА одновременно! Перевод системы из
одного качества в другое вполне возможно, как будет показано ниже, осуществить
с помощью обыкновенного тумблера. Вот почему такое устройство (ЦОЧ +
ЧАСТОТОМЕР) окажет колоссальную помощь в процессе настройки как описываемого
приемника, так, что тоже не исключается, многих других устройств.
Принципиальная электрическая схема УНИВЕРСАЛЬНОЙ ЦИФРОВОЙ
ШКАЛЫ (будем впредь именовать это устройство так), была представлена на рис.
27.1. Работа универсальной цифровой шкалы осуществляется следующим образом.
Генератор, формирующий тактовые импульсы, стабилизированный кварцем, имеющим
собственную частоту резонанса 32768 герца, собран на микросхеме D2 типа
К176ИЕ5. Эта специализированная микросхема содержит в себе не только схему
генератора прямоугольных импульсов, но также и двоичный счетчик, выходы
которого дают возможность получить как собственно выходной сигнал этого
генератора, так и результат деления его частоты на 2 в 15 степени. А, кроме
того, еще и на 2 в 14 степени, а также на 2 в 9 степени При этом эпюра
контрольного сигнала генератора снимается с выводов 11 и 12 микросхемы D2.
Следует заметить, что эпюры сигналов на этих выводах сдвинуты друг относительно
друга по фазе на 180 градусов. Таким образом, на выводе 5 D2 формируется
прямоугольный сигнал с периодом 1 герц.
Далее этот сигнал поступает на счетный вход D-триггера, который
выполнен на микросхеме D3 К176ТМ2 (К561ТМ2). И затем с прямого выхода этого
триггера (вывод 1) подается на вход логического инвертора, собранного на одном
из элементов 2И-НЕ, которые имеются в составе микросхемы D4 К176ЛА7 (К561ЛА7).
Для формирования необходимых внутрисистемных служебных импульсов, сигнал с
вывода 5 микросхемы D2, одновременно с подачей на счетный вход D-триггера,
подается на еще один элемент 2И-НЕ, откуда после инвертирования (вывод 11 D4)
подается на двухвходовую схему совпадения (выводы 5 и 6 D4). Инвертированный
выходной сигнал сумматора (вывод 4 D4) поступает на схему формирователя
коротких импульсов, реализованную, как это и следует из принципиальной схемы, с
помощью логического инвертора (входы 8 и 9 D4). А также схемы сдвига, в
формировании которой участвует конденсатор С10. Для более наглядного понимания
того, как именно осуществляется формирование необходимых нам служебных
сигналов, основные моменты процесса представлены на рис. 28.13.

Действительно, для того, чтобы легко и удобно считывать показания
цифровой шкалы, а равно и показания частотомера (при проведении процесса
измерений), желательно счетный интервал (это то время, в течение которого
осуществляется подсчет числа поступающих импульсов в каждом цикле), иногда
говорят СЧЕТНЫЙ ПЕРИОД, разбить на три интервала, соответственно:
1. Интервал счета.
2. Интервал индикации.
3. Интервал установки.
Вот именно для этой цели и служат микросхемы D3, D4, D5 и
D6. Естественно, эпюра “б” соответствует ситуации на выводе 11 D4. А эпюра “а”
— ситуации на выводе 3 D4. Тогда инвертированный выходной сигнал сумматора
(эпюра “с”), как легко убедиться, произведя логическое сложение эпюр “а” и “б”,
поданный на вход инвертора, учитывая временную задержку, вносимую конденсатором
СЮ, дает сигнал, который и представлен на эпюре “в”. Как видим, сформировалась
очень важная для дальнейшей работы схемы временная задержка (см. рис. 28.13).
Теперь на выводе 6 D5 сформировался короткий импульс положительной полярности,
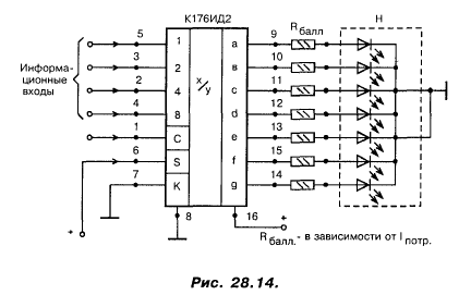
который подается на выводы 1 всех микросхем К176ИД2 (D15—D19). Эти микросхемы
представляют из себя преобразователи кода 1—-2—4—8 в семисегментный
позиционный. Но в составе этих микросхем имеются и дополнительные устройства. В
частности, память. Вообще микросхема К176ИД2 , при наличии логического уровня
“О” на ее выводе 1 — запоминает сигнал, поступивший на ее информационные входы,
т.е. выводы 5, 3, 2 и 4.
Таким образом, короткий положительный импульс, о котором
речь шла выше, “запишет” в память всех микросхем К176ИД2 текущее значение
измеряемой частоты. Которое и зафиксируется в десятичном коде пятизначным
цифровым индикатором, собранным на светодиодных семисегментных индикаторах типа
АЛ304Г. Но требуется еще обеспечить и правильную работу счетчиков, в которых
использованы микросхемы К176ИЕ2 (D10—D14). Как известно, информация на выходах
этих микросхем сбрасывается в “0”, если на выводах 9 присутствует уровень
логической ЕДИНИЦЫ. В то же время, схема работает в режиме нормального счета,
если на выводе 9 поддерживается логический НУЛЬ. Для того, чтобы сформировать
сигнал, сбрасывающий показания счетчиков, сигнал с вывода 6 D5 подается на
узел, формирующий необходимую длительность и фазу, который и будет
синхронизировать рабочий цикл счетчиков К176ИЕ2. Этот узел реализован на
микросхеме D6, конденсаторах С8 и С9, также резисторе R11.
При установке тумблера выбора режима работы в положение 2
(ЧАСТОТОМЕР), устройство будет осуществлять счет числа импульсов, поступивших
на его вход. Для того, чтобы в нашем распоряжении оказался действительно
частотомер, в его состав введено устройство, реализованное на транзисторах VT1
и VT2, а также микросхемах D7, D8 и D9. На транзисторе VT1 собран входной
усилитель, обеспечивающий необходимую полосу частот и уровень входного сигнала.
Его выходной импеданс согласован с первым делителем частоты на 10. В качестве
такого делителя служит специализированная экономичная микросхема D7 193ИЕЗ.
Дело в том, что, как было сказано выше, ГПД приемника генерирует частоты в
интервале 85,5—60,5 МГц. Но знать значение принимаемой частоты с точностью до 1
герца в данном случае совершенно ни к чему. Для хорошей цифровой шкалы
достаточна точность порядка 1 кГц. Вот почему, прежде чем подать текущий сигнал
от ГПД на счетчик, применен предварительный делитель на 1000. Первое деление на
10 и осуществляется микросхемой D7. Предпочтение 193ИЕЗ оказано еще и потому,
что эта микросхема прекрасно работает с синусоидальными сигналами. И потребляет
при этом ток, не превышающий 20 миллиампер.
Следовательно, значение частоты на выходе D7 лежит для
нашего случая в пределах от 8,55 до 6,05 МГц. Но для нормальной работы
счетчиков серий К176 и К561 — это слишком высокая частота. Поэтому использован
второй делитель частоты на 10, в качестве которого применен хорошо себя
зарекомендовавший двоично-десятичный ТТЛ-счетчик К133ИЕ2. С его вывода 11
снимается сигнал в виде последовательности прямоугольных импульсов, частота
которых лежит в пределах 855-605 кГц. Но подать их на вход третьего каскада
деления частоты на 10, в котором использована микросхема D9 типа К176ИЕ2 не
представляется возможным в связи с несовпадением логических уровней ТТЛ и
К-МОП. Поэтому в состав универсальной цифровой шкалы введен инвертор логических
уровней на транзисторе VT2. С его выхода предварительно сформированный сигнал
подается на соединенные в параллель входы 1, 2 и 8 логического инвертора,
собранного на D5. Теперь, приведенные в полное соответствие со стандартом
К-МОП-логики, импульсы поступают на счетный вход 2 D9. Таким образом, на ее
выводе 11 значение измеряемой частоты лежит в пределах 85500—60500 герц.
Теперь посмотрим, как осуществляется работа всего
устройства, если тумблер выбора режима работы переключен в положение 1 —
(“Цифровая шкала”). Вот теперь нам необходимо обязательно вычитать первую
промежуточную частоту, значение которой, как известно, составляет 55,5 МГц.
Поскольку частоту поступающих на частотомер импульсов мы уже уменьшили в 1000
раз, то и значение ПЧ1 следует привести в соответствие с этим. Таким образом,
оперативное значение промежуточной частоты — 55500 герц! Анализ и выбор оптимальной
реализации задачи создания универсальной Цифровой шкалы, которая при том была
бы и наиболее проста в отладке, но сохраняла высокое качество измерения,
показал, что наиболее разумным является создание узла на простых микросхемах
серий К561 (К176), который обеспечивал бы генерацию выходного управляющего
импульса только в том случае, если на его входы поступает КОНТРОЛЬНОЕ ЧИСЛО,
равное оперативному значению вычитаемой промежуточной частоты. Этот узел и
реализован на микросхемах D20—D26. Что и представлено на рис. 27.1, приведенном
ранее. Дополнительным удобством такого узла является и тот неоспоримый факт,
что для его отладки достаточно обыкновенного тестера!
Легко видеть, что импульс на выводе 11 микросхемы D22
появится только в том случае, если на его параллельные входы подается
двоично-десятичный сигнал, соответствующий числу 55500. При ЛЮБОМ ДРУГОМ
состоянии входов сигнал на выводе 11 D22 — отсутствует. Микросхема D1
представляет собой устройство, которое дважды в течение счетного интервала
обеспечивает сброс счетчиков в НУЛЬ — по окончании общего цикла счета и после
прихода 55500-го импульса. Выдачу этого числа обеспечивают выходы микросхем
D10—D14, причем в двоично-десятичном коде 1—2—4—8. Следует заметить, что
подобная реализация вычитания ПЧ позволяет реализовать и другие значения
контрольного числа. То есть иных значений промежуточной частоты. Для этого
вполне достаточно просто набрать на входах микросхем этого узла ДРУГОГО
числового эквивалента. Естественно, в качестве цифровых индикаторов в данной
схеме можно использовать и любые другие семисегментные светодиодные матрицы.
Причем, как с общим катодом, так и с общим анодом. При использовании
светодиодных семисегментных матриц с ОБЩИМ КАТОДОМ, дешифраторы-преобразователи
кодов, которыми и являются микросхемы К176ИД2, должны быть включены так, как
показано на рис. 28.14.

А вот о конструктивных особенностях, используемых в
приемнике индуктивностей, я попросил бы поделиться с нами своими взглядами
нашего “Главного Конструктора Проекта” — Аматора.
“Аматор”: С удовольствием...
Н. Конструкция катушек индуктивности и ШПТЛ, используемых в
приемнике
Используемые в конструкции приемника индуктивности, намотаны
на стандартных каркасах, внешний вид и размеры которых приведены на рис. 30.13
в главе 30. Моточные данные и конкретно применяемые типы каркасов для селектора
диапазонов приведены в табл. 30.5 в главе 30. Моточные данные (либо значения
индуктивности) аттенюатора, широкополосного УВЧ и преобразователя первой
промежуточной частоты приведены в табл. 30.6 в главе 30. Моточные данные
катушек усилителя первой промежуточной частоты и преобразователя второй
промежуточной частоты приведены в табл. 30.7 главы 30. Те же самые данные по
ГПД приведены в табл. 30.8.
В табл. 30.9 приведены моточные данные, либо указаны
значения индуктивности усилителя второй промежуточной частоты. Моточные данные
катушек (либо значения их индуктивности) квар-цованного гетеродина на частоту
54,045 МГц приведены в табл. 30.10. А вот по части оптимальной технологии
процесса настройки, позвольте передать мои полномочия Вам, Спец.
“Спец”: Не смею отказать. Итак...