9.4. ТРАНСФОРМАТОРЫ С ФЕРРОМАГНИТНЫМ СЕРДЕЧНИКОМ. СХЕМЫ ЗАМЕЩЕНИЯ ТРАНСФОРМАТОРОВ
Приблизить характеристики трансформатора к идеальным, как указывалось выше, можно за счет использования ферромагнитного сердечника с высокой магнитной проницаемостью. Однако магнитная проницаемость таких материалов существенно зависит от напряженности магнитного поля H. Тем не менее большинство таких трансформаторов работают в режиме, когда нелинейность их свойств мало влияет на соотношения между первичными и вторичными напряжениями и токами, которые практически сохраняют синусоидальную форму. Это позволяет использовать при анализе трансформаторов с сердечниками соотношения для линейного трансформатора, вводя в них поправочные члены.
Схемы замещения трансформаторов. Введем такие поправки в схемы замещения трансформаторов. Рассмотрим сначала совершенный трансформатор с
R1 = R2 и
= 1, для которого из ранее полученных уравнений найдем связи между напряжениями и токами:

В приведенных формулах учтено, что параметры совершенного трансформатора связаны условиями
c = w1/w2 = L1/M = M/L2. Второе слагаемое в выражении для тока
представляет так называемый ток намагничивания
, определяющий поток F0 в сердечнике (w1 F0 = L1I0). Этот ток не протекает по какой-либо из обмоток трансформатора, а является лишь расчетной величиной, пропорциональной суммарной МДС обеих обмоток
.
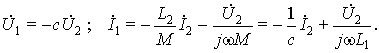
Полученным связям отвечает схема замещения, содержащая идеальный трансформатор, шунтированный со стороны первичных зажимов индуктивностью L1 (рис. 9.10, а).

Рис. 9.10
Схема замещения реального воздушного трансформатора содержит в обеих цепях активные сопротивления обмоток R1 и R2 и индуктивности рассеяния, которые через параметры исходного воздушного трансформатора определяются как разности Ls1 = L1 – Mc; Ls 2 = L2 – M/c (рис. 9.10, б).
Описание процессов в схемах с трансформаторами имеет более наглядный характер при приведении его обмоток к одному числу витков, т. е. при переходе к эквивалентному трансформатору с коэффициентом трансформации c' = 1. В результате из схем замещения устраняется идеальный трансформатор, однако величины, определяющие процессы в одной обмотке, должны быть соответствующим образом пересчитаны — приведены к другой обмотке. При приведении вторичной обмотки к первичной число ее витков w'2 приравнивается к w1, и все напряжения во вторичной цепи должны быть умножены на c = w1/w2, а токи — разделены на ту же величину. Сопротивления и индуктивности вторичного контура при этом умножаются на c2, а емкости — делятся на c2. Схема приведенного трансформатора изображена на рис. 9.10, в; ее приведенные параметры, обозначенные на рисунке штрихами, равны
![]()
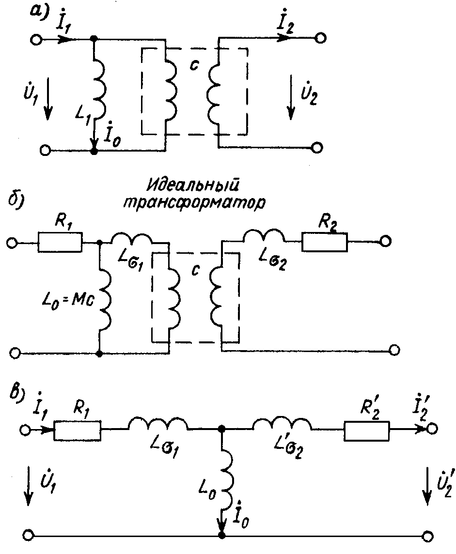
Схема замещения трансформатора с ферромагнитным сердечником учитывает нелинейный характер связи магнитного потока в сердечнике F0 с намагничивающим током I0: индуктивный элемент L0 в намагничивающей ветви имеет нелинейный характер. Дополнительным фактором являются потери в сердечнике, связанные с гистерезисом — необратимыми потерями за счет циклического перемагничивания его материала, и циркуляцией размагничивающих вихревых токов в теле сердечника. Поскольку обе составляющие потерь в сердечнике практически пропорциональны квадрату амплитуды индукции Bm:
![]()
а Bm при периодическом процессе пропорциональна
U0, для потерь в сердечнике можно записать
Pф = g0
и ввести в схему замещения трансформатора активную проводимость
g0, параллельную индуктивности L0. В результате получаем схемы замещения рис. 9.11, а,б.

Рис. 9.11
Последняя отвечает приведенному трансформатору. Элементы этих схем Ls1 и Ls2 (L's2) – линейные, так как магнитные потоки рассеяния замыкаются преимущественно по воздуху и практически пропорциональны вызывающим их токам. Линейной является и активная проводимость g0, поскольку составляющие потерь практически пропорциональны квадрату напряжения U0. Так как ток и его составляющая, протекающая через нелинейную индуктивность L0, существенно меньше остальных токов, то на форме первичных и вторичных токов и напряжений искажения, обусловленные нелинейностью, практически не сказываются, за исключением режима холостого хода, когда при I2 = 0 ток намагничивания I0 совпадает с первичным током. Для нахождения значений L0 и g0 используют данные измерений тока I1 и мощности P1 в режиме холостого хода при номинальном напряжении трансформатора U1. При этом с учетом записанных связей U1 » U0 и P1 » Pф.
При коротком замыкании на вторичной стороне, выполняемом при номинальном первичном токе I1, ток I0 практически отсутствует, и измеренные значения U1 и P1 позволяют определить лишь суммарную величину сопротивления R1 + R'2 и индуктивности рассеяния Ls1 + L's2.
Это приводит к упрощенной схеме замещения приведенного трансформатора (рис. 9.11, в).