КВ приемник мирового уровня –это очень просто
ГЛАВА 16 Прогулка по схеме
“учебно-тренировочного”...
“Незнайкин”: Добрый день, дорогой Аматор. Мне не терпится продолжить нашу беседу-путешествие по схеме КВ-приемника, который мне уже просто не терпится построить. Я бодр, сосредоточен и готов к восприятию новой информации.
“Аматор”: Добавь — такой нужной и полезной. После этой твоей блестящей демонстрации самовнушения мне ничего не остается другого, кроме как приступить к обсуждению принципиальной электрической схемы узла U3. У тебя снова вопрос?
“Н”: Я просто подумал о том, что, может быть, вместо “электронного” решения, прибегнуть к более простому?
“А”: Ну ты меня просто заинтриговал! Но что ты имеешь в виду, говоря о “более простом решении”?
“Н”: Может быть просто набрать несколько маленьких батареек от часов, соединить их последовательно, да и получить эти самые (+ 30 вольт)? Ведь ВАР И КАПЫ, как я полагаю, тока почти не потребляют? Значит, батареек хватит надолго. Чему это ты так улыбаешься?
“А”: Знаешь, я как-то предложил то же самое Спецу. Представь себе, он тоже развеселился. И сказал, что если бы не пара моментов, то по этому пути, пожалуй, можно было бы пойти.
“Н”: Мне не терпится узнать, что это за “моменты”!
“А”: Первый из них заключается в том, что, хотя сами ВАРИКАПЫ, действительно, тока не потребляют (пара микроампер не в счет), но есть компонент и более прожорливый. Который, как раз, ток потребляет. Я имею в виду МНОГООБОРОТНЫЙ РЕЗИСТОР.
“Н”: Ну это уже совсем просто! Нужно взять резисторы, имеющие высокое сопротивление, вот и все! Скажем, один мегом!...
“А”: Да нет, не все. Ведь при этом резко возрастут шумы. Увеличатся механические требования к ползунку. Как следствие, возрастет уровень помех. Вот почему оптимальный номинал этого резистора — не свыше 47 килоом. А еще лучше — 22 килоома. При этом сквозной ток через многооборотный резистор возрастает. И в нашем случае будет равен, примерно, 1,5 миллиампер. А это для часовых батареек, согласись, многовато. Не надолго их хватит.
“Н”: Ну, а в чем заключается второй момент?
“А”: В том, что стабильность батареек недостаточна.
“Н”: А что, стабильность должна быть очень высокой?
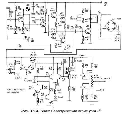
“А”: Представь себе. Но к этому вопросу мы еще вернемся ниже, а пока давай приступать к анализу работы схемы преобразователя напряжения. Заметь, нам требуется достаточно специфическое напряжение, равное +30 вольт. А у нас имеется напряжение — (+9 вольт). Вот в таких случаях и используют одну из разновидностей схем электронного статического преобразователя напряжения. Как видишь, ЗАДАЮЩИЙ ГЕНЕРАТОР (ЗГ) низкой частоты реализован на транзисторе VT1.
“Н”: А зачем здесь лампочка накаливания Л1 ? Для индикации включения?
“А”: Не угадал! Эта лампочка, при работе преобразователя, всегда темная! Ее назначение — быть температурно — зависимым элементом обратной связи. При росте амплитуды сигнала ЗГ, эффективное значение переменного тока нагревает нить лампочки. Ее сопротивление при этом возрастает. Что ведет к уменьшению упомянутого тока. Лампочка слегка остывает, что...
“Н”: ... Ведет к новому возрастанию тока! Значит, поскольку этот процесс носит динамический характер, амплитуда колебаний стабилизируется!
“А”: Вот видишь, как хорошо! Далее с коллекторной нагрузки транзистора VT1, в качестве которой используется резистор R4, сигнал поступает на базу VT2. Этот транзистор предназначен для согласования уровней напряжения. И определяет рабочий режим по постоянному току выходного каскада генератора, выполненного на транзисторах VT3—VT6. Далее через переходной конденсатор, емкостью 0,22 микрофарады, сигнал подается на оконечный усилитель-преобразователь, реализованный на транзисторе VT7. Обрати внимание на существование еще одной обратной связи, осуществляемой через подстроечный резистор R5.
“Н”: Если я верно понял, эти самые обратные связи и позволяют достичь высокой стабильности амплитуды колебаний?
“А”: Совершенно верно! В качестве коллекторной нагрузки транзистора VT7 служит малогабаритный тороидальный трансформатор Tpl. На его вторичной обмотке развивается переменное напряжение равное, примерно, 35 вольт. Которое .выпрямляется диодным мостом (VD1—VD4). А затем сглаживается электролитическим конденсатором. После чего подается на вход прецизионного линейного стабилизатора, реализованного на транзисторах VT8 и VT9, а также микросхеме. Предусмотрена также подстройка величины выходного напряжения с помощью резистора R19.
“Н”: Дальше все понятно. Остановка за малым — создать все это практически.
“А”: А почему ты ничего не спрашиваешь об УМЗЧ?
“Н”: Только потому, что, как мне кажется, к выходу нашего двух-диапазонного КВ-приемника можно подсоединить вход любого УМЗЧ.
“А”: Отчасти, это так. Но все же, чтобы создаваемое тобой “изделие” не являлось зависящим от какой-либо сторонней аппаратуры, хочу предложить тебе пару-тройку разновидностей УМЗЧ. И хочу заметить, что в настольной (или носимой) модели КВ-приемника особого смысла в сверхмощном УМЗЧ нет ровно никакого! Поэтому я предлагаю тебе для реализации вот такую схему УМЗЧ, где достаточно гармонично сочетаются простота, малые габариты, небольшая мощность и достаточно высокое качество (рис. 16.1).
“Н”: Это что, полная схема?
“А”: А что ты ожидал увидеть? Вавилонскую башню? Могу посоветовать на будущее — придерживайся изображенной на этой схеме конфигурации оконечной части УМЗЧ. Что же касается входного каскада, то здесь, как пишут в газетных объявлениях по квартирному обмену, возможны варианты. А вообще-то усилители мощности звуковой частоты (ранее'их именовали — усилители низкой частоты) — это обширнейшая область электроники и акустики!
“Н”: Но какие-то рекомендации для самостоятельной разработки “ходовых” УМЗЧ, вот как в данном случае, имеются?
“А”: Обязательно. Прежде всего, УМЗЧ должен быть двухтактным и не содержать на выходе трансформатора. Затем очень желательно, чтобы оконечный каскад был построен на комплементарных транзисторах. То есть одинаковых по своим частотным и мощностным параметрам, но имеющих различную проводимость. Проще говоря, один из них должен иметь структуру р—п—р, а другой — п—р—п. В этом случае нелинейные искажения будут минимальными.
“Н”: Но ты говорил о “паре-тройке” схем.
“А”: Я имел в виду построение,предварительных каскадов УМЗЧ. Вот они — выбирай (рис. 16.1, а, б).

“Н”: Без твоего краткого комментария?
“А”: Ну если ты настаиваешь... На рис. 16.1, а. показана схема предварительного усилителя для УМЗЧ на микросхеме К548УН1А. Параметры этого усилителя зависят от глубины отрицательной обратной связи (ООС), которая определяется соотношением номиналов резисторов R1 и R3. В данном случае, коэффициент передачи составляет около 25. Конденсатор коррекции (Скорр) нужен для того, чтобы ограничить диапазон рабочих частот. Ну, а на рис. 16.1, б приведена практическая схема двухкаскадного предварительного усилителя с, так называемой, непосредственной связью между каскадами. Между прочим, это достаточно высококачественный предварительный усилитель. Поскольку для снижения нелинейных искажений здесь использованы ДВЕ цепи ООС.
“Н”: Должен признаться тебе, дорогой Аматор, что все эти твои ООС напоминают мне лихо закрученный детектив, где все действующие лица немедленно попадают в разряд подозреваемых...
“А”: Мне вполне по вкусу твоя аналогия. Действительно, подобные схемы, где электрический р0жим по постоянному току сложным образом зависит от величины номинала каждого резистора схемы, способен привести к состоянию, так сказать, философической меланхолии. Но, уверяю тебя, творческий гений человечества, наряду и с другими проблемами, с такой задачей, как отладка усилителей с непосредственной связью, сумел справиться! И, между нами, это оказалось не так сложно, как кажется вначале. Ну-ка, Незнайкин, начинай анализ!
“Н”: Мне почему-то кажется, что ключевая точка схемы — это резистор R6.
“А”: Твоей интуиции можно только позавидовать...
“Н”: Будучи, буквально, окрылен твоими словами, я продолжаю. Итак, напряжение на резисторе R6, зависящее оттока эмиттера второго транзистора, подается в цепь базы первого транзистора.
“А”: Внимание, Незнайкин! Поскольку рекомендованные транзисторы КТ-342А (КТ-3102) имеют статический коэффициент усиления по постоянному току порядка 250—350, базовый ток VT1 не превышает 1 микроампера! Тем не менее, проходя по R1, этот ток способен создать падение напряжения, которое следует учитывать. Кроме того, от величины коллекторного тока второго транзистора зависит значение падения напряжения на резисторе R5. А, значит, напряжение коллектора VT2. Ну и, соответственно, напряжение на эмиттере первого транзистора. Вот почему, регулируя величину резистора R6, мы определяем этим режим работы всего предварительного усилителя.
“Н”: Так какую же из двух схем (рис. 16.1, а или рис. 16.1, б) ты мне порекомендуешь для конкретного использования?
“А”: Именно схему двухкаскадного предварительного усилителя на транзисторах. Но не кажется ли тебе, что мы отвлеклись от нашего приемника, как такового?
“Н”: Разве? Ну тогда давай возвращаться к первоначальной теме Тем более, что в наших записях отсутствует, как я заметил, важнейший момент...
“А”: Уж не имеешь ли ты в виду конструкцию катушек индуктивности?
“Н”: Именно! А, кроме того, конструкцию трансформаторов, намотанных на кольцах, под гордым названием Ш ПТЛ. Ведь как я подозреваю, их намотка обладает особой спецификой?
Моточные данные катушек индуктивности полосовых фильтров
Таблица 16.1.
|
Катушка |
Каркас |
Провод |
Количество витков |
|
L3 |
ТИП| |
ПЭВ 0,18x8 мм |
45 |
|
L4 |
ТИП| |
ПЭВ 0,15x7 мм |
47 |
|
L5 |
ТИП| |
ПЭВ 0,18x7 мм |
39 |
|
L6 |
ТИП| |
ПЭВ 0,18x9 мм |
50 |
|
L7 |
тип! |
ПЭВ 0,18x9 мм |
50 |
|
L8 |
тип! |
ПЭВ 0,18x7 мм |
39 |
“А”: Безусловно. Итак, что касается полосовых диапазонных фильтров, то их данные приводятся в табл. 16.1.
Теперь тебе полезно учесть, что для обеспечения нормального приема g диапазоне частот 15,0—12,0 МГц, генератор плавного диапазона (ГПД) должен перестраиваться в пределах:
Минимальная рабочая частота ГПД — 17,465 МГц; Максимальная рабочая частота ГПД — 20,465 МГц; Соответственно, для диапазона частот 12,0 — 9,0 МГц; Минимальная рабочая частота ГПД — 14,465 МГц; Максимальная рабочая частота ГПД — 17,465 МГц.
Что касается конструкции контурной катушки ГПД, то здесь отступать от современного стандарта тоже не следует. Вот она, на рис. 16.2 (тип IV).

“Н”: Но я вижу, что каркас контурной катушки ГПД обеспечивает намотку не виток к витку, а с определенным промежутком?
“А”: Ты хочешь сказать - с ПРИНУДИТЕЛЬНЫМ ШАГОМ? Да, это так. Скажу больше — гетеродинную катушку вообще желательно намотать посеребренным проводом без какой-либо изоляции. Конструкция каркаса с принудительным шагом и позволяет легко это осуществить.
“Н”: Ну, а где я возьму такой провод?
“А”: Как ты еще не раз убедишься в своей практике, добывание комплектующих для своей очередной конструкции — это достаточно хлопотная задача. Но и достаточно азартная. Она чем-то сродни коллекционированию монет или значков. Но только не в данном случае. Потому что если тебе не удастся раздобыть специального серебреною провода, то можно тот же самый вопрос решить иначе. На любом радиотолчке ты приобретаешь кусок монтажного многожильного провода, но ОБЯЗАТЕЛЬНО типа МС. Длина куска — не более 50 сантиметров. Толщина — желательно побольше. Затем аккуратно снимаешь с него фторопластовую изоляцию. Осталось только расплести жилы, что не так уж и сложно. И у тебя в наличии окажется 5—7 профессионально и высококачественно посеребренных проводников. Этого хватит на добрый десяток катушек!
“Н”: А почему я не могу воспользоваться обыкновенным медным эмалевым проводом? Хотя бы той же марки ПЭВ-2?
“А”: Ты, дружище, себя просто недооцениваешь! Ну конечно-же, можешь! Ибо, как сказал японский камикадзе, направляя свой самолет на американский авианосец, “все в наших руках”. Кроме добротности гетеродинной катушки, если ее намотать медным проводом!
“Н”: Это тоже тебе поведал японский камикадзе?..
“А”: Вот как раз на этот счет он ничего не успел сказать! Так что мне об этом в свое время поведал Спец, а я — тебе. И уверяю тебя, гетеродинная катушка стоит того, чтобы ради нее затеять эту возню с серебряным проводом!
“Н”: А ... понял, понял, понял, как сказал однажды поручик Ржевский. СКИН-ЭФФЕКТ или, иначе говоря, эффект поверхностной высокочастотной проводимости. Но не распространяется ли это требование на катушки индуктивности для резонансных контуров первой ПЧ, которая, как я помню, равна 5,465 МГц?
“А”: Можешь считать, что нет. Эти индуктивности выполнены на том же типе каркаса, что и индуктивности полосовых диапазонных фильтров. Намотка катушек ПЧ1 осуществляется проводом, типа ПЭВ-2-0,1 и содержит 80 витков. Емкость конденсатора составляет 12 пикофарад. Кстати, как ты, наверное, заметил, конструкция каркасов содержит в себе сердечник, снабженный резьбой М4. Обычно его изготовляют из карбонильного железа (для высоких частот). Или феррита, когда используется стандартное значение ПЧ, равное 465 кГц. С помощью подобного сердечника можно без какой-либо перемотки обеспечить плавную регулировку значения индуктивности. В сторону ее увеличения. До 30 % и более.
“Н”: А как уменьшить индуктивность, не трогая обмотку?
“А”: Представь себе, и эта проблема решена. Для подобного свершения, как оказалось, вполне достаточно применить резьбовой сердечник, изготовленный из ЛАТУНИ.
“Н”: Ну а что ты можешь сообщить о конструктивных особенностях катушек для ПЧ2?
“А”: Поскольку ПЧ2 равна 465 кГц, то здесь следует применить секционированные катушки, которые в дальнейшем будем именовать — Тип III. Их внешний вид приведен на рис. 16.2. Что же касается моточных данных, то они таковы. Одиночная контурная катушка на 465 кГц содержит 80 витков ПЭВ-2-0,1, намотанных на каркасе Тип III. В каждой из его четырех секций размещено по 20 витков.
“Н”: Но в схеме приемника имеется катушка, содержащая ДВЕ обмотки на одном каркасе. Как поступим в этом случае?
“А”: Тогда в верхних двух секциях размещаем первичную обмотку, а в двух нижних — вторичную. Каждая из секций содержит по 40 витков провода ПЭВ-2-0,08 или ПЭВ-2-0,063. Таким образом, каждая из катушек содержит по-прежнему по 80 витков. Емкость контурного конденсатора составляет 91 пФ.
“Н”: Однако, ты собирался рассказать о ШПТЛ?
“А”: Собирался, однако. ШПТЛ — широкополосные трансформаторные линии — вещь прелюбопытная. Спец рассказывал, ^что их теоретическое описание очень громоздкое и сложное. А вот практическая реализация — одно удовольствие. Я, конечно, имею в виду простейшие случаи. Поскольку Спец показывал мне такие хитрые ШПТЛ, что я до сих пор не знаю, как они наматываются. Но спешу тебя уверить, что мы вполне можем обойтись в данном приемнике достаточно простыми ШПТЛ.
“Н”: Ты вселил в меня бодрость и оптимизм. Но не лучше ли будет от слов перейти к изображению?
“А”: Посмотри внимательно на этот рис. 16.3. Я все изобразил на нем. Прежде всего, чтобы приступить к намотке ШПТЛ, необходимо подготовить СДВОЕННУЮ И СКРУЧЕННУЮ ПАРУ проводов. Мой совет - в данной конструкции применяем ПЭВ-2-0,22. Отрезав от катушки с проводом кусок длиной 1 метр, далее поступают так, как указано на рис. 16.3.
“Н”: А если точно такого кольца добыть не удастся?
“А”: Тогда могу посоветовать применить кольца из высокочастотного феррита марки 50ВЧ2. Количество витков то же самое. Если размеры кольца соответствуют приведенным на рис. 16.3, разумеется.

“Н”: У нас остался невыясненным еще один компонент.
“А”: Ты имеешь в виду трансформатор преобразователя напряжения? Он, должен заметить, может быть реализован по-разному. Однако наиболее предпочтительным является его намотка на кольце из никель-цинкового феррита марки 600НН или 1000НН типоразмера К16,0x8,0x6,0. Первичная обмотка содержит в себе 80 витков ПЭВ-2-0,18. Вторичная — 300 витков ПЭВ-2-0,1.
“Н”: Какие-нибудь дополнительные рекомендации по этому трансформатору имеются?
“А”: Ну конечно! Прежде всего рекомендую превратить, с помощью надфиля с алмазным покрытием, прямоугольное сечение кольцевого сердечника в некое подобие овала. В противном случае, при намотке, возможно повреждение острой ферритовой гранью изоляции эмалевого провода. А это приведет к неработоспособности трансформатора. Поэтому здесь стоит проявить терпение и аккуратность.
“Н”: Я забыл спросить тебя о частоте преобразования узла (рис 16.4).

“А”: Она невелика — около 10 кГц. Так что при работе преобразователя, ты, приблизив ухо к узлу U3, сможешь убедиться в его работоспособности, услышав тончайший писк, подобный комариному. Более того, если в этом писке будет прослушиваться некая хрипотца, можно заранее сказать (еще до контроля формы сигналов на осциллографе), что режим работы преобразователя не оптимальный. Да и недостаточно высокое выходное напряжение подтвердит правильность этого вывода.
“Н”: А что можно сказать по вопросу настройки приемника?
“А”: ГПД можно отладить отдельно. С помощью обычного цифрового частотомера и осциллографа. Правильно собранный ГПД начинает работать сразу. И тогда вся настройка сводится к следующему. Оптимальный режим задающего генератора ГПД подбирают путем регулирования потенциометра R42 (см. рис. 15.2). При этом следует отпаять вторичную обмотку ШПТЛ ТрЗ и проконтролировать выходной сигнал ГПД путем подачи его на вход осциллографа и цифрового частотомера.
“Н”: Ну, а кварцованный генератор?
“А”: Ты имеешь в виду гетеродин D2? Здесь дело обстоит еще проще. Этот гетеродин, опять-таки при правильной сборке, начинает работать сразу. При этом в его конструкции применены две катушки индуктивности, намотанные на каркасах Тип 2. До заполнения.
“Н”: Но катушка ЗГ гетеродина D2 имеет отвод. Где он расположен?
“А”: Ровно посередине катушки. В таком случае говорят, что коэффициент ее включения равен 0,5.
“Н”: Я вижу, что можно, наконец, приступать к постройке приемника. Постой-постой, а что ты имел в виду, когда еще в самом начале нашей беседы, когда мы еще только приступили к рассмотрению схемы этого “учебно-тренировочного” КВ-приемника, говорил о НЕОЧЕВИДНЫХ преимуществах его принципиальной схемы?
“А”: Ну у тебя и память... Но вопрос задан вполне своевременно. Так вот, самое главное неочевидное преимущество данной схемы заключается в том, что схемотехнические особенности ее узлов приведены в максимальное соответствие с особенностями схемотехники БОЛЬШОГО ПРИЕМНИКА с преобразованием “вверх”! Поэтому, занимаясь отладкой данного приемника, ты осваиваешь определенный уровень электроники, так необходимый в дальнейшем.
“Н”: Дорогой Аматор, в таком случае, я говорю тебе — до свидания и, одновременно, большое спасибо за помощь и разъяснительную работу, которую ты провел с немалым успехом. А сейчас я спешу приступить к монтажу и пайке!
“А”: Не считаю себя вправе сдерживать твой творческий порыв! У тебя до возвращения Спеца, на все про все осталась неделя. В добрый час, дружище!