5.4. ФОРМИРОВАНИЕ СИГНАЛЬНЫХ ГРАФОВ АКТИВНЫХ ЦЕПЕЙ
При изображении сигнального графа активной цепи используют правила, принятые ранее при составлении уравнений таких цепей:
1) составляют граф пассивной части цепи, рассматривая управляемые источники как независимые;
2) управляющие величины зависимых источников выражают через переменные графа;
3) изображают ветви, выражающие управляющие связи в соответствии с уравнениями, записанными в п. 2).
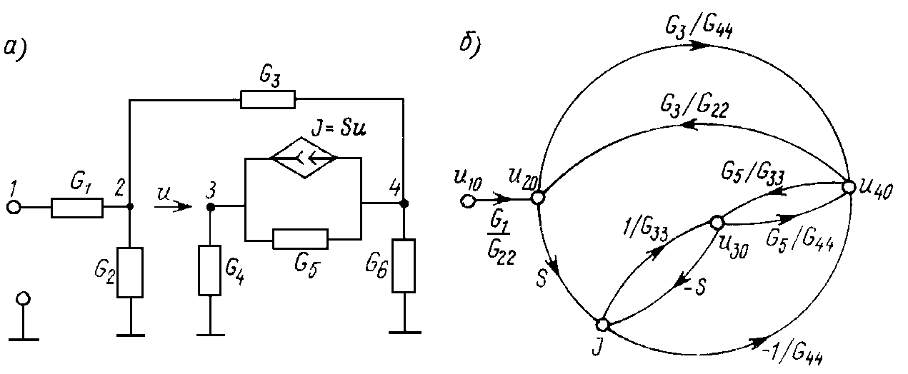
Рассмотрим цепь рис. 5.5, а. На основе узловых уравнений выделим на графе (рис. 5.5, б) узлы 1 – 4, отвечающие аналогично пронумерованным узлам цепи, а также узел J, соответствующий току управляемого источника.

Рис. 5.5
Изображаем ветви, подходящие к узлам 2 – 4. Входящие в выражения передач ветвей собственные проводимости узлов равны:
G22 = G1 + G2 + G3; G33 = G4 + G5; G44 = G3 + G5 + G6.
Управляющее напряжение источника равно разности узловых напряжений u20 и u30, и для его тока имеем
![]()
Построение завершается изображением ветвей, подходящих к узлу J, представляющих последнее соотношение.
Пример построения сигнального графа для цепи с управляемым источником рассмотрен в Задаче 5.1.
Особенно просто строится сигнальный граф для схем с идеальными усилителями напряжения. Здесь нет необходимости выражать управляющие величины через переменные графа, так как входные напряжения усилителей непосредственно выражаются через узловые напряжения.
В схеме рис. 5.6, а входные напряжения обоих усилителей равны узловым напряжениям, и поэтому управляющие связи каждого усилителя изображены только одной ветвью, соединяющей его входной и выходной узлы.

Рис. 5.6
На графе (рис. 5.6, б) каждой из проводимостей цепи отвечает лишь одна ветвь, а не две, как в пассивной цепи на рис. 5.4, а,б, так как напряжения выходных узлов усилителей определяются соотношениями uвых = kuвх. Поэтому к каждому из их выходных узлов подходит одна ветвь графа, выражающая последнее соотношение. Это же можно трактовать иначе. Проводимости 2, 4 и 5 передают сигнал только в одну сторону — по цепи обратной связи — с выхода усилителя к соответствующей точке цепи. Видно, что структура построенного графа повторяет структуру цепи.
При изображении на графе усилителя с бесконечным коэффициентом усиления изображение ветви с бесконечной передачей лишено смысла. Вследствие конечного значения выходного напряжения усилителя условие k = ¥ эквивалентно равенству uвх = 0. Однако его нельзя непосредственно реализовать на графе.

Рис. 5.7
Заменим последнее условие эквивалентным ему uвых = uвых + uвх. Отсюда следует изображение фрагмента графа для выходного узла, показанное на рис. 5.7, б. Аналогично изображают на графе операционный усилитель с дифференциальным входом (рис. 5.7, в). Его выходное напряжение при бесконечном коэффициенте усиления u3 = u3 + (u2 – u1). Это уравнение изображают на графе способом, показанным на рис. 5.7, г.
При изображении идеального операционного усилителя с обратными связями, его целесообразнее изображать на графе как единое целое вместе с элементами обратной связи в виде усилителя с конечным коэффициентом усиления.

Рис. 5.8
Наиболее распространенные схемы включения усилителя с обратными связями рис. 5.8, а,г эквивалентны усилителям с конечными коэффициентом усиления (рис. 5.8, б,д), и поэтому их можно изобразить на графе, как показано на рис. 5.8, в,е.