4.4. УЧЕТ УПРАВЛЯЕМЫХ ИСТОЧНИКОВ ПРИ ФОРМИРОВАНИИ КОНТУРНЫХ УРАВНЕНИЙ
При формировании уравнений сначала записывают систему контурных уравнений, в которой управляемые источники учитывают как независимые. Затем управляемые токи и напряжения выражают через контурные токи с использованием уравнений Кирхгофа и компонентных уравнений. После этого члены уравнений, содержащие одинаковые неизвестные, группируют в левых частях уравнений.
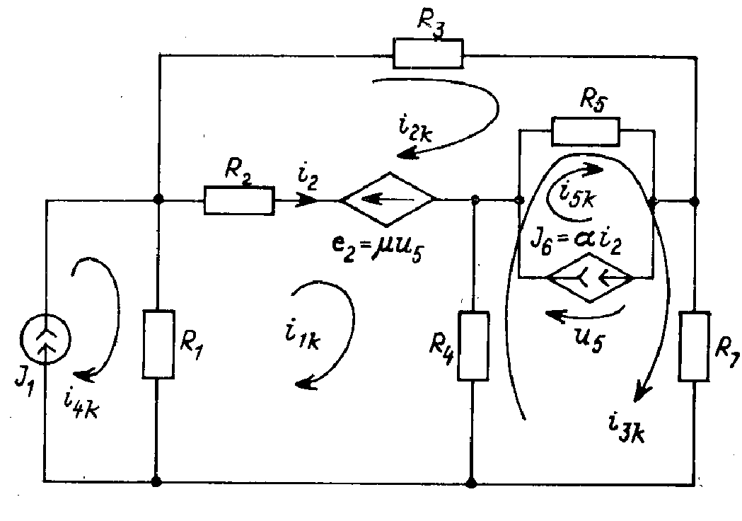
Общий вид системы контурных уравнений для цепи, изображенной на рис. 4.4, содержащей три уравнения и пять контурных токов, совпадает с записанным выше для схемы рис. 4.3, а.

Pис. 4.4
Управляющие величины и токи идеальных источников выражаем через искомые контурные токи следующим образом: i2 = i1к – i2к; i1к = J1; i5 = J6 = a(i1к – i2к); u5 = R5i5 = R5(i2к – i3к – i5к) = R5(i2к – i3к – a(i1к – i2к)).
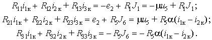
Подставим эти выражения в контурные уравнения:

Группируя члены, окончательно получим:

Входящие сюда сопротивления Rkp, описывающие пассивную часть цепи, совпадают с полученными ранее для схемы рис. 4.3, а. Обратите внимание, что добавки к матрице контурных сопротивлений пассивной части цепи, учитывающие влияние управляемых источников, в данном примере компенсируют друг друга как в пределах строк, так и столбцов матрицы.
Примеры применения метода контурных токов к схемам с управляемыми источниками рассмотрены в Задаче 3.1.