10.1. ЭДС, НАПРЯЖЕНИЯ, ТОКИ И АКТИВНАЯ МОЩНОСТЬ В СИММЕТРИЧНЫХ ТРЕХФАЗНЫХ СИСТЕМАХ
Мощные генераторы и приемники электрической энергии вырабатывают и потребляют трехфазные синусоидальные токи. В трех обмотках статора трехфазного генератора — фазах А, В, С — генерируются три ЭДС одинаковой частоты и амплитуды, имеющие фазовый сдвиг 120° (рис. 10.1, а).

Рис. 10.1
Комплексное изображение ЭДС подобной симметричной трехфазной системы имеет вид:
![]()
Фазные обмотки трехфазного генератора соединяются между собой. Это осуществляется объединением начал обмоток в общем узле 0
— соединение звездой (рис. 10.1, б). Поскольку сумма фазных ЭДС симметричной системы
, то фазные обмотки можно соединять и последовательно
— соединение треугольником (рис. 10.1, в). Выводы
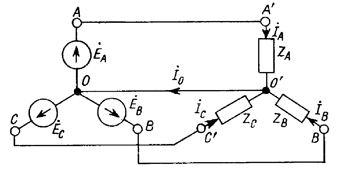
A, B, C и нейтральной точки 0 (в случае соединения звездой) с помощью линейных проводов соединяются с приемником, сопротивления которого также образуют трехфазную систему.
При питании трехфазного приемника, фазы которого
ZA, ZB, ZC соединены звездой, от генератора, имеющего выведенную нейтраль (рис. 10.2), достаточно использовать четыре провода, а не шесть, которые потребовались бы при соединении несвязанных между собой источников фазных ЭДС с сопротивлениями нагрузки. Токи в линейных проводах
AA', BB' и CC' равны токам в соответствующих фазах приемника
;
;
, а ток в нейтральном проводе 00' İ0 = İA + İB + İC.

Рис. 10.2
При симметрии ЭДС и фаз приемника (ZA = ZB = ZC) токи İA, İB, İC также образуют симметричную трехфазную систему (рис. 10.1, а), и их сумма — ток в нейтральном проводе İ0 — равна нулю. Поэтому при симметрии ЭДС генератора и симметрии фаз соединяемого звездой приемника нейтральный провод может отсутствовать.
При небольшой несимметрии токов, вызванной некоторым различием сопротивлений фаз приемника, ток в нейтральном проводе существенно меньше линейных токов, и в качестве нейтрального провода можно использовать, например, землю.
В трехфазной системе ABC имеем линейные напряжения
,
, и
. Как следует из векторной диаграммы (рис. 10.1, а), при симметрии фазных ЭДС линейные напряжения системы
Uл = UAB = UBC = UCA = EЦ3. Поскольку фазные напряжения приемника
Uф = E, то при соединении звездой имеем
Uл = Ц3Uф, Iл = Iф.
Активная мощность, потребляемая симметричной трехфазной системой, суммируется из мощностей, потребляемых фазами: P = 3UфIф cos φ (φ — угол сдвига между фазными токами и напряжениями). Используя соотношения для линейных величин, запишем для активной мощности симметричной трехфазной системы
.
У приемника также применяют соединение треугольником, когда его фазы
ZA, ZB и ZC находятся под линейным напряжением (рис. 10.3). В этом случае, очевидно,
Uф = Uл. Так как при симметричной системе линейных напряжений и симметрии фаз приемника фазные токи
,
и
также образуют симметричную систему, а линейные токи равны разности фазных
, то при соединении треугольником имеем
Iл = Ц3Iф. Эта связь аналогична дуальному соотношению для напряжений при соединении звездой. Поэтому приведенная формула для активной мощности, потребляемой нагрузкой, справедлива и для соединения треугольником.
В результате при симметричных системах получим:

Для расчета несимметричных режимов в трехфазных системах используют методы узловых напряжений и контурных токов.
Достоинствами трехфазной системы, обусловившими ее исключительно широкое применение в системах энергоснабжения, являются следующие:
1) при передаче заданной мощности требуется меньшее число проводов, чем в несвязанных однофазных системах;
2) в цепи имеются два уровня напряжения
— фазное и линейное, что позволяет питать различные нагрузки без применения трансформаторов;
3) суммарная мощность трехфазной системы p = uAiA + uBiB + uCiC не зависит от времени
— мощность от трехфазного генератора к нагрузке поступает равномерно в течение периода;
4) трехфазная система токов позволяет легко создать магнитное поле, вращающееся в пространстве, которое используется для работы наиболее распространенного типа трехфазного асинхронного электродвигателя.